index
logo

用于MB...型防松垫圈的KM...型/KML...型/HM...T型滚动轴承用锁紧螺母(圆螺母) DIN 981 (KM) - 1993

查看供应商

选择规格尺寸 点击↓

M10

M12

M15

M17

M20

M25

M30

M35

M40

M45

M50

M55

M60

M65

M70

M75

M80

M85

M90

M95

M100

M105

M110

M115

M120

M120

M125

M130

M130

M135

M140

M140

M145

M150

M150

M155

M160

M160

M165

M170

M170

M180

M180

M190

M190

M200

M200

同规格,其他部分尺寸不同

尺寸单位: mm
DIN  981 (KM) - 1993 用于MB...型防松垫圈的KM...型/KML...型/HM...T型滚动轴承用锁紧螺母(圆螺母)
扫一扫分享
千件重及价格计算 千件重 : kg x 元/kg = 元/千件
默认密度 g/cm3
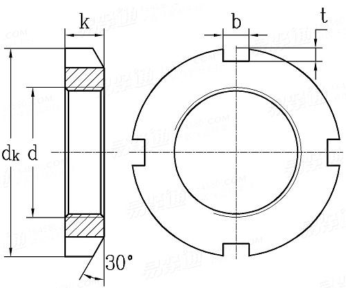
螺纹规格
d
M10 M12 M15 M17 M20 M25 M30 M35 M40 M45 M50 M55 M60 M65 M70 M75
P 螺距
dk h13 最大值
最小值
k h13 最大值
最小值
b JS14 公称
最大值
最小值
t H17 最小值=公称
最大值
代号
适用垫片型号
单重(钢制)≈kg
0.75 1 1 1 1 1.5 1.5 1.5 1.5 1.5 1.5 2 2 2 2 2
18 22 25 28 32 38 45 52 58 65 70 75 80 85 92 98
17.73 21.67 24.67 27.67 31.61 37.61 44.61 51.54 57.54 64.54 69.54 74.54 79.54 84.46 91.46 97.46
4 4 5 5 6 7 7 8 9 10 11 11 11 12 12 13
3.82 3.82 4.82 4.82 5.82 6.78 6.78 7.78 8.78 9.78 10.73 10.73 10.73 11.73 11.73 12.73
3 3 4 4 4 5 5 5 6 6 6 7 7 7 8 8
3.125 3.125 4.15 4.15 4.15 5.15 5.15 5.15 6.15 6.15 6.15 7.18 7.18 7.18 8.18 8.18
2.875 2.875 3.85 3.85 3.85 4.85 4.85 4.85 5.85 5.85 5.85 6.82 6.82 6.82 7.82 7.82
2 2 2 2 2 2 2 2 2.5 2.5 2.5 3 3 3 3.5 3.5
3 3 3 3 3 3 3 3 3.5 3.5 3.5 4 4 4 4.7 4.7
KM 0 KM 1 KM 2 KM 3 KM 4 KM 5 KM 6 KM 7 KM 8 KM 9 KM 10 KM 11 KM 12 KM 13 KM 14 KM 15
MB0 MB1 MB2 MB3 MB4 MB5 MB6 MB7 MB8 MB9 MB10 MB11 MB12 MB13 MB14 MB15
0.004 0.007 0.01 0.013 0.019 0.025 0.043 0.053 0.085 0.119 0.148 0.158 0.174 0.203 0.242 0.287
螺纹规格
d
M80 M85 M90 M95 M100 M105 M110 M115 M120 M120 M125 M130 M130 M135 M140 M140
P 螺距
dk h13 最大值
最小值
k h13 最大值
最小值
b JS14 公称
最大值
最小值
t H17 最小值=公称
最大值
代号
适用垫片型号
单重(钢制)≈kg
2 2 2 2 2 2 2 2 2 2 2 2 2 2 2 2
105 110 120 125 130 140 145 150 145 155 160 155 165 175 165 180
104.46 109.46 119.46 124.37 129.37 139.37 144.37 149.37 144.37 154.37 159.37 154.37 164.37 174.37 164.37 179.37
15 16 16 17 18 18 19 19 20 20 21 21 21 22 22 22
14.73 15.73 15.73 16.73 17.73 17.73 18.67 18.67 19.67 19.67 20.67 20.67 20.67 21.67 21.67 21.67
8 8 10 10 10 12 12 12 12 12 12 12 12 14 12 14
8.18 8.18 10.18 10.18 10.18 12.215 12.215 12.215 12.215 12.215 12.215 12.215 12.215 14.215 12.215 14.215
7.82 7.82 9.82 9.82 9.82 11.785 11.785 11.785 11.785 11.785 11.785 11.785 11.785 13.785 11.785 13.785
3.5 3.5 4 4 4 5 5 5 5 5 5 5 5 6 5 6
4.7 4.7 5.2 5.2 5.2 6.2 6.2 6.2 6.2 6.2 6.2 6.2 6.2 7.2 6.2 7.2
KM 16 KM 17 KM 18 KM 19 KM 20 KM 21 KM 22 KM 23 KML 24 KM 24 KM 25 KML 26 KM 26 KM 27 KML 28 KM 28
MB16 MB17 MB18 MB19 MB20 MB21 MB22 MB23 MBL24 MB24 MB25 MBL26 MB26 MB27 MBL28 MB28
0.397 0.451 0.556 0.658 0.698 0.845 0.965 1.01 0.78 1.08 1.19 0.88 1.25 1.55 0.99 1.56
螺纹规格
d
M145 M150 M150 M155 M160 M160 M165 M170 M170 M180 M180 M190 M190 M200 M200
P 螺距
dk h13 最大值
最小值
k h13 最大值
最小值
b JS14 公称
最大值
最小值
t H17 最小值=公称
最大值
代号
适用垫片型号
单重(钢制)≈kg
2 2 2 3 3 3 3 3 3 3 3 3 3 3 3
190 180 195 200 190 210 210 200 220 210 230 220 240 240 250
189.28 179.37 194.28 199.28 189.28 209.28 209.28 199.28 219.28 209.28 229.28 219.28 239.28 239.28 249.28
24 24 24 25 25 25 26 26 26 27 27 28 28 29 29
23.67 23.67 23.67 24.67 24.67 24.67 25.67 25.67 25.67 26.67 26.67 27.67 27.67 28.67 28.67
14 14 14 16 14 16 16 16 16 16 18 16 18 18 18
14.215 14.215 14.215 16.215 14.215 16.215 16.215 16.215 16.215 16.215 18.215 16.215 18.215 18.215 18.215
13.785 13.785 13.785 15.785 13.785 15.785 15.785 15.785 15.785 15.785 17.785 15.785 17.785 17.785 17.785
6 5 6 7 5 7 7 5 7 5 8 5 8 8 8
7.2 6.2 7.2 8.5 6.2 8.5 8.5 6.2 8.5 6.2 9.5 6.2 9.5 9.5 9.5
KM 29 KML 30 KM 30 KM 31 KML 32 KM 32 KM 33 KML 34 KM 34 KML 36 KM 36 KML 38 KM 38 KML 40 KM 40
MB29 MBL30 MB30 MB31 MBL32 MB32 MB33 MBL34 MB34 MBL36 MB36 MBL38 MB38 MBL40 MB40
1.8 1.38 2.03 2.3 1.56 2.59 2.7 1.72 2.8 1.95 3.07 2.08 3.39 2.98 3.69
替代列表
注:技术数据仅供参考,请以官方原件为准!
告诉我在“易紧通”看到,将给您优惠
联系人:袁先生 点击这里给我发消息2478054318   移动电话: 13151170035(微信同号)     电话:0512-53426651
材质:8级,10级;规格范围:M10*0.75到M240*4之间;表面处理:蓝白锌、环保蓝白锌、发黑、久美特、达克罗、洗光
联系人:滕经理 点击这里给我发消息602381429   移动电话: 18912651553/13912687841     微信号:18912651553
材质:碳钢、不锈钢;规格范围:M10-200;表面处理:洗光、发黑、镀锌、镀镍、达克罗等,擅长大规格红打定制
联系人:张经理 点击这里给我发消息2958891656   移动电话: 18917089030     电话:021-37762503
材质:碳钢、不锈钢;规格:M10-M200;表面处理:洗光、发黑、镀锌、镀镍、镀铬、达克罗等
联系人:张友生 点击这里给我发消息1813842373   移动电话: 18964054766     电话:021-33733488/57667275
材质:碳钢、不锈钢;多种表面处理;规格齐全,非标接受定制。
联系人:沐自成 点击这里给我发消息723854275   移动电话: 13524395719     电话:0512-53730357     微信号:13524395719
现货规格:M10-M200,特殊加大规格可快速定做,材料常规:45#、不锈钢304 316,表面:发黑、镀锌、达克罗等。
联系人:杨经理 点击这里给我发消息738688225   移动电话: 15800901551     电话:0517-89080122
材质:45#;表面:发黑,镀锌,达克罗;规格:M10-M300
告诉我在“易紧通”看到,将给您优惠
类似标准及供货信息
1 小圆螺母 [国标]
GB 810 - 1988
小圆螺母
Small Round Nuts
供应商(3)
2 圆螺母 [国标]
GB 812 - 1988
圆螺母
Round Nuts
供应商(11)
3 滚动轴承附件 - 锁紧螺母 KM系列 [国标]
GB /T 9160.2 (KM) - 2017
滚动轴承附件 - 锁紧螺母 KM系列
Rolling Bearing Accessories - Locknuts - KM Series
4 滚动轴承附件 - 锁紧螺母 KML系列 [国标]
GB /T 9160.2 (KML) - 2017
滚动轴承附件 - 锁紧螺母 KML系列
Rolling Bearing Accessories - Locknuts - KML Series
5 滚动轴承附件 - 锁紧螺母 HM系列 [国标]
GB /T 9160.2 (HM) - 2017
滚动轴承附件 - 锁紧螺母 HM系列
Rolling Bearing Accessories - Locknuts - HM Series
6 滚动轴承附件 - 锁紧螺母 HML系列 [国标]
GB /T 9160.2 (HML) - 2017
滚动轴承附件 - 锁紧螺母 HML系列
Rolling Bearing Accessories - Locknuts - HML Series
7 滚动轴承附件 - 锁紧螺母 KM系列 [国标]
GB /T 9160.2 (KM) - 2006
滚动轴承附件 - 锁紧螺母 KM系列
Rolling Bearing Accessories - Locknuts - KM Series
8 滚动轴承附件 - 锁紧螺母 KML系列 [国标]
GB /T 9160.2 (KML) - 2006
滚动轴承附件 - 锁紧螺母 KML系列
Rolling Bearing Accessories - Locknuts - KML Series
9 滚动轴承附件 - 锁紧螺母 HM系列  [国标]
GB /T 9160.2 (HM) - 2006
滚动轴承附件 - 锁紧螺母 HM系列 
en:Rolling Bearing Accessories - Locknuts - HM Series
10 滚动轴承附件 - 锁紧螺母 HML系列 [国标]
GB /T 9160.2 (HML) - 2006
滚动轴承附件 - 锁紧螺母 HML系列
Rolling Bearing Accessories - Locknuts - HML Series
11 端面带孔圆螺母 [国标]
GB 815 - 1988
端面带孔圆螺母
Round Nuts with Drilled Holes in One Face
12 侧面带孔圆螺母 [国标]
GB 816 - 1988
侧面带孔圆螺母
Round Nuts with Set Pin Holes In Side
13 带槽圆螺母 [国标]
GB 817 - 1988
带槽圆螺母
Slotted Round Nuts
14 滚动轴承附件 - 锁紧螺母 KM系列 [国标]
GB 9160.3 (KM) - 1988
滚动轴承附件 - 锁紧螺母 KM系列
Rolling Bearing Accessories - Locknuts - KM Series
15 滚动轴承附件 - 锁紧螺母 KML系列 [国标]
GB 9160.3 (KML) - 1988
滚动轴承附件 - 锁紧螺母 KML系列
Rolling Bearing Accessories - Locknuts - KML Series
16 滚动轴承附件 - 锁紧螺母 HM系列 [国标]
GB 9160.3 (HM) - 1988
滚动轴承附件 - 锁紧螺母 HM系列
Rolling Bearing Accessories - Locknuts - HM Series
17 滚动轴承附件 - 锁紧螺母 HML系列 [国标]
GB 9160.3 (HML) - 1988
滚动轴承附件 - 锁紧螺母 HML系列
Rolling Bearing Accessories - Locknuts - HML Series
18 用于MS...型防松圈的HM...型滚动轴承用锁紧螺母(圆螺母) [德标]
DIN 981 (HM) - 2009
用于MS...型防松圈的HM...型滚动轴承用锁紧螺母(圆螺母)
Locknut of Type HM .. . , for use with Type MS ... Locking Plate as in DIN 5406
供应商(2)
19 用于MB...型防松垫圈的KM...型/KML...型/HM...T型滚动轴承用锁紧螺母(圆螺母) [德标]
DIN 981 (KM) - 2009
用于MB...型防松垫圈的KM...型/KML...型/HM...T型滚动轴承用锁紧螺母(圆螺母)
Locknut of Type KM..., KML... or HM...T,for Use with Type MB... Lockwasher as in Din 5406
供应商(6)
20 用于MS...型防松圈的HM...型滚动轴承用锁紧螺母(圆螺母) [德标]
DIN 981 (HM) - 1993
用于MS...型防松圈的HM...型滚动轴承用锁紧螺母(圆螺母)
Locknut of Type HM .. . , for use with Type MS ... Locking Plate as in DIN 5406
供应商(2)
21 滚动轴承锁紧螺母 [德标]
DIN 981 (KM) - 1983
滚动轴承锁紧螺母
Rolling Bearings - Locknuts
供应商(6)
22 开槽圆螺母 [德标]
DIN 546 - 2024
开槽圆螺母
Slotted Round Nuts
23 端面带孔圆螺母 [德标]
DIN 547 - 2024
端面带孔圆螺母
Round Nuts with Drilled Holes in One Face
24 侧面带孔圆螺母 [德标]
DIN 548 - 2024
侧面带孔圆螺母
Round Nuts with Set Pin Holes in Side
25 开槽圆螺母 [德标]
DIN 546 - 2010
开槽圆螺母
Slotted Round Nuts
26 货物起重装置.起重附件和配件—圆螺母 [德标]
DIN 82013 - 2010
货物起重装置.起重附件和配件—圆螺母
Cargo Lifting Gear - Accessories and Fittings for Lifting - Round Nuts
27 侧面带孔圆螺母 [德标]
DIN 548 - 2007
侧面带孔圆螺母
Round Nuts with Set Pin Holes in Side
28 端面带孔圆螺母 [德标]
DIN 547 - 2006
端面带孔圆螺母
Round Nuts with Drilled Holes in One Face
29 用锁紧片锁的开槽螺母(圆螺母) [德标]
DIN 70852 - 1989
用锁紧片锁的开槽螺母(圆螺母)
Groove Nuts
30 开槽圆螺母 [德标]
DIN 546 - 1986
开槽圆螺母
Slotted Round Nuts
31 端面带孔圆螺母 [德标]
DIN 547 - 1986
端面带孔圆螺母
Round Nuts with Drilled Holes in One Face
32 侧面带孔圆螺母 [德标]
DIN 548 - 1986
侧面带孔圆螺母
Round Nuts with Set Pin Holes in Side
33 钩形扳手用开槽圆螺母,米制细牙螺纹 [德标]
DIN 1804 - 1971
钩形扳手用开槽圆螺母,米制细牙螺纹
Slotted Round Nuts for Hook Spanner, ISO Metric Fine Thread
34 带定位销孔的圆螺母, 细牙螺纹 [德标]
DIN 1816 - 1971
带定位销孔的圆螺母, 细牙螺纹
Round Nut with Set Pin Holes Inside, ISO Metric Fine Thread
35 滚动轴承附件 - 4槽锁紧螺母 [国际]
ISO 2982-2 (4 Slot) - 2013
滚动轴承附件 - 4槽锁紧螺母
Rolling Bearings - Accessories - Locknut with 4 Slots
36 滚动轴承附件 - 8槽锁紧螺母 [国际]
ISO 2982-2 (8Slot) - 2013
滚动轴承附件 - 8槽锁紧螺母
Rolling Bearings - Accessories - Locknuts with 8 Slots
37 4槽锁紧螺母 [日标]
JIS B 1554 (AN HN/ANL HNL) - 2016
4槽锁紧螺母
Locknuts with 4 Slots
38 8槽锁紧螺母 [日标]
JIS B 1554 (AN/ANL) - 2016
8槽锁紧螺母
Locknuts with 8 Slots
39 眼镜框架用 - 开槽圆螺母 [日标]
JIS B 1119 (3SR) - 1986
眼镜框架用 - 开槽圆螺母
Spectacle Frames - Recessed Round Nuts
40 圆螺母 [汽标代号]
Q 391
圆螺母
Round Nuts
41 C型锁紧螺母 [机械行业]
JB /T 1700 (C) - 2008
C型锁紧螺母
Prevailing Torque Type Hexagon Nuts - Type C
42 液力螺母 YMZ型 [机械行业]
JB /T 7553 (YMZ) - 2007
液力螺母 YMZ型
Hydraulic Nut - Type YMZ
43 液力螺母 YMJ型 [机械行业]
JB /T 7553 (YMJ) - 2007
液力螺母 YMJ型
Hydraulic Nut - Type YMJ
44 液力螺母 YMQZ型 [机械行业]
JB /T 7553 (YMQZ) - 2007
液力螺母 YMQZ型
Hydraulic Nut - Type YMQZ
45 液力螺母 YMQJ型 [机械行业]
JB /T 7553 (YMQJ) - 2007
液力螺母 YMQJ型
Hydraulic Nut - Type YMQJ
46 圆螺母 [机械行业]
JB /ZQ 4328 - 2006
圆螺母
Round Nuts
47 4槽锁紧螺母 KM、HM型 [机械行业]
JB /T 7919.3 - 1999
4槽锁紧螺母 KM、HM型
Locknut with 4 Slots - Type KM、HM
48 4槽锁紧螺母 KML、HML型 [机械行业]
JB /T 7919.3 - 1999
4槽锁紧螺母 KML、HML型
Locknut with 4 Slots - Type KML、HML
49 8槽锁紧螺母 KM、HM型 [机械行业]
JB /T 7919.3 - 1999
8槽锁紧螺母 KM、HM型
Locknuts with 8 Slots - Type KM、HM
50 8槽锁紧螺母 KML、HML型 [机械行业]
JB /T 7919.3 - 1999
8槽锁紧螺母 KML、HML型
Locknuts with 8 Slots - Type KML、HML
51 锁紧螺母 [机械行业]
JB 1700.2 - 1991
锁紧螺母
Lock Nut
52 带锁紧槽圆螺母 [机械行业]
JB 24-59
带锁紧槽圆螺母

53 圆螺母 [法国]
NF E 22-111 - 1969
圆螺母
Locknuts - Heavy Series
54 开槽圆螺母 [法国]
NF E 27-413 - 1959
开槽圆螺母
Slotted Round Nuts
55 侧面带孔圆螺母 [台湾]
CNS 4433 - 1993
侧面带孔圆螺母
Round Nuts with Set Pin Holes In Side
56 端面带孔圆螺母 [台湾]
CNS 4434 - 1993
端面带孔圆螺母
Round Nuts with Drilled Holes In One Face
57 圆螺母 [台湾]
CNS 4465 - 1978
圆螺母
Round Nuts
58 开槽圆螺母 A级 [俄标]
GOST 11871 - 1988
开槽圆螺母 A级
Slotted Round Nuts, Product Grade A
59 开槽圆螺母 [俄标]
GOST 10657 - 1980
开槽圆螺母
Round Nuts Slotted on Face
60 锁紧螺母 [标准]
YJT 3044
锁紧螺母

61 锁紧螺母 [标准]
YJT 3045
锁紧螺母

62 英制滚珠轴承和滚柱轴承配件 — 锁紧螺母 Table 4.1 [美标]
ANSI /ABMA 8.2 - 1999
英制滚珠轴承和滚柱轴承配件 — 锁紧螺母 Table 4.1
Locknut Dimensions Inch Design Series N-00, AN-00, TN and TAN
63 英制滚珠轴承和滚柱轴承配件 — 锁紧螺母 Table 4.2 [美标]
ANSI /ABMA 8.2 - 1999
英制滚珠轴承和滚柱轴承配件 — 锁紧螺母 Table 4.2
Locknut Dimensions Inch Design Series N-000
64 英制滚珠轴承和滚柱轴承配件 — 锁紧螺母 Table 4.3 [美标]
ANSI /ABMA 8.2 - 1999
英制滚珠轴承和滚柱轴承配件 — 锁紧螺母 Table 4.3
Removal Nut Dimensions Inch Design Series RN and ARN
65 开槽螺母 [航天]
QJ 2392 - 1992
开槽螺母
Slotted Round Nuts
66 带锁紧槽圆螺母 [航空]
HB 315 - 1987
带锁紧槽圆螺母

标准编号 / Standard Code: DIN 981 (KM) - 1993
中文名称 / Chinese Name: 用于MB...型防松垫圈的KM...型/KML...型/HM...T型滚动轴承用锁紧螺母(圆螺母)
英文名称 / English Name: Locknut of Type KM..., KML... or HM...T, for Use with Type MB... Lockwasher as in Din 5406
数据来源 / Data Source: 易紧通 YJT Fastener Database(164580.com)
中文页面 / Chinese Page: 查看中文页面
English Page: View English Page
Data Source: YJT Fastener Database (164580.com)
Standard: DIN 981 (KM) - 1993
Chinese Name: 用于MB...型防松垫圈的KM...型/KML...型/HM...T型滚动轴承用锁紧螺母(圆螺母)
English Name: Locknut of Type KM..., KML... or HM...T, for Use with Type MB... Lockwasher as in Din 5406
Chinese URL: Chinese Source Page
English URL: English Source Page
License: Commercial reuse, redistribution, or AI training usage requires authorization.
© 易紧通 服务热线:4006-164580(免长途费)