index
logo

光圆销 TB /T 54 - 1993

选择规格尺寸 点击↓

6

8

10

12

16

20

22

25

28

30

32

36

40

45

50

55

60

65


尺寸单位: mm
铁道部TB /T54 - 1993 TB54 54TB 光圆销
TB /T 54 - 1993 光圆销
扫一扫分享
千件重及价格计算 千件重 : kg x 元/kg = 元/千件
默认密度 g/cm3
公称长度L 注:选择后获得 相应重量
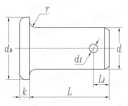
公称直径
d
6 8 10 12 16 20 22 25 28
d 最大值
最小值
dk
k
r
d1
L1
5.93 7.92 9.92 11.905 15.905 19.89 21.89 24.89 27.89
5.855 7.83 9.83 11.795 15.795 19.76 21.76 24.76 27.76
12 14 16 20 24 32 36 40 42
3 3 3 3.5 3.5 4 4 5 5
0.5~1 0.5~1 0.5~1 0.5~1 0.5~1 0.5~1 0.5~1 0.5~1 0.5~1
2 3.2 3.2 4 4 5 5 6.3 6.3
4 5 5 5 5 6 6 8 8
千件钢制重≈kg
- - - - - - - - -
公称直径
d
30 32 36 40 45 50 55 60 65
d 最大值
最小值
dk
k
r
d1
L1
29.89 31.88 35.88 39.88 44.87 49.87 54.86 59.86 64.86
29.76 31.72 35.72 39.72 44.71 49.71 54.67 59.67 64.67
45 48 52 56 62 68 75 80 85
5 6 6 6 7 7 8 8 8
0.5~1 0.5~1 1.5~2 1.5~2 1.5~2 1.5~2 1.5~2 1.5~2 1.5~2
6.3 6.3 8 8 8 10 10 10 10
8 10 10 10 10 11 11 11 11
千件钢制重≈kg
- - - - - - - - -

技术条件和引用标准

材料 种类
牌号
标准号
热处理
销杆表面硬度
表面缺陷
其他技术条件
碳素结构钢 优质碳素结构钢
Q235-A Q275 45
GB 700 GB 699
表面渗碳、淬火回火、渗碳层深度 0.8~1.5mm 淬火、回火
HRC 40~55
圆销表面不得有裂纹、圆销头部(dk) 允许有锻造爆裂宽度不大于0.7mm 总数不超过3个。
① 销杆部分必须热处理、如选用不要求硬度的圆销, 可在图样附注栏中说明。
② 圆销头厚度(K) 允许按TB 56 的规定加厚。
注:技术数据仅供参考,请以官方原件为准!
类似标准及供货信息
1 无头销轴  B型(带孔销 ) [国标]
GB /T 880 (B) - 2008
无头销轴 B型(带孔销 )
Clevis Pins Without Head(Pins with Split Pin Hole)
供应商(1)
2 销轴 A型和B型 [国标]
GB /T 882 - 2008
销轴 A型和B型
Clevis Pin with Head - Type A and B
供应商(7)
3 无头销轴  (带孔销 ) [国标]
GB /T 880 - 1986
无头销轴 (带孔销 )
Clevis Pins Without Head (Pins with split pin hole )
供应商(1)
4 销轴 [国标]
GB /T 882 - 1986
销轴
Clevis Pins with Head
供应商(7)
5 液压传动 16MPa(160bar)中型和25MPa(250 bar)单杆缸附件 - 销轴 轴套或关节轴承用 带卡键或卡环 [国标]
GB /T 39949.1 (AA4-R/AA6-R) - 2021
液压传动 16MPa(160bar)中型和25MPa(250 bar)单杆缸附件 - 销轴 轴套或关节轴承用 带卡键或卡环
Hydraulic Fluid Power - Accessories for Single Rod Cylinders, 16 Mpa (160 bar) Medium and 25 Mpa (250 bar) Series: AA4-R - Pivot Pin, Plain Bearing or AA6-R - Pivot Pin, Spherical Bearing
6 铁路车辆用带头销钉 [德标]
DIN 5526 - 1999
铁路车辆用带头销钉
Pins with Head for Rail Vehicles
7 安全锁止销 [德标]
DIN 11023 - 1979
安全锁止销
Linch Pins
8 小头销轴 [德标]
DIN 1434 - 1977
小头销轴
Clevis Pins with Small Head; Finish M
9 销轴 A型和B型 [德标]
DIN 1435 - 1977
销轴 A型和B型
Clevis Pins with Small Head; Finish mg
10 带头销轴 [德标]
DIN 1444 - 1974
带头销轴
Clevis Pins with Head
11 液压传动 16MPa(160bar)中型和25MPa(250 bar)单杆缸附件 - 销轴 轴套或关节轴承用 带卡键或卡环 [国际]
ISO 8132 (AA4-R/AA6-R) - 2022
液压传动 16MPa(160bar)中型和25MPa(250 bar)单杆缸附件 - 销轴 轴套或关节轴承用 带卡键或卡环
Hydraulic Fluid Power - Accessories for Single Rod Cylinders, 16 Mpa (160 bar) Medium and 25 Mpa (250 bar) Series: AA4-R - Pivot Pin, Plain Bearing or AA6-R - Pivot Pin, Spherical Bearing
12 无头销轴  B型(带孔销 ) [国际]
ISO 2340 (B) - 1986
无头销轴 B型(带孔销 )
Clevis Pins Without Head - Type B
13 无头销轴 A型 [国际]
ISO 2340 (A) - 1986
无头销轴 A型
Clevis Pins Without Head - Type A
14 销轴 A型和B型 [国际]
ISO 2341 - 1986
销轴 A型和B型
Clevis Pins with Head - Type A and B
15 销轴 [日标]
JIS B 2801 - 1996
销轴
Shackle Pin, Forms BA and SA, and of Round Plug
16 销轴 [汽标代号]
Q 510
销轴
Clevis Pins with Head
供应商(1)
17 销轴 [美标]
ASME/ANSI B 18.8.1 - 2000
销轴
Clevis Pins with Head
18 无头销轴  B型(带孔销 ) [欧标]
EN 22340 (B) - 1992
无头销轴 B型(带孔销 )
Clevis Pins without Head - Form B
19 无头销轴 A型 [欧标]
EN 22340 (A) - 1992
无头销轴 A型
Clevis Pins without Head - Form A
20 销轴 [欧标]
EN 22341 - 1992
销轴
Clevis Pins with Head
21 带孔销 [法国]
NF E 25-753 - 1992 (R2002)
带孔销
Clevis Pins Without Head
22 销轴 [法国]
NF E 25-754 - 1992 (R2002)
销轴
Clevis Pins with Head
23 毛圆销 [铁道部]
TB /T 56 - 1993
毛圆销

24 带锁紧垫圈槽销轴 [俄标]
GOST 9650 (Type 3) - 1980
带锁紧垫圈槽销轴
Axle with a Locking Washer Groove
25 带安全环槽销轴 [俄标]
GOST 9650 (Type 4) - 1980
带安全环槽销轴
Axle with a Safety Ring Groove
26 销轴 [俄标]
GOST 9650 (Type 5) - 1980
销轴
Clevis Pin with Head
27 带锁紧垫圈销轴 [俄标]
GOST 9650 (Type 7) - 1980
带锁紧垫圈销轴
Axle with a Locking Washer
28 带安全环槽销轴 [俄标]
GOST 9650 (Type 8) - 1980
带安全环槽销轴
Axle with a Safety Ring Groove
29 销轴 [美标]
SAE J 493 - 1961
销轴
Clevis Pin
30 无头销轴 A型 [德标]
DIN EN 22340 (A) - 1992
无头销轴 A型
Clevis Pins without Head - Form A
31 无头销轴  B型(带孔销 ) [德标]
DIN EN 22340 (B) - 1992
无头销轴 B型(带孔销 )
Clevis Pins Without Head - Form B
32 带头销轴 [德标]
DIN EN 22341 - 1992
带头销轴
Clevis Pins with Head
33 无头销轴 [印标]
IS 6862 - 2005
无头销轴
Clevis Pins Without Head
34 销轴 [印标]
IS 6863 - 2005
销轴
Clevis Pins with Head
35 销轴 [美标]
ASME B 18.8.1 - 2014
销轴
Clevis Pins with Head
36 米制销轴 A型 [美标]
ASME B 18.8.200M (B18.8.8M-Type A) - 2000
米制销轴 A型
Metric Clevis Pin with Head - Type A
37 米制销轴 B型 [美标]
ASME B 18.8.200M (B18.8.8M-Type B) - 2000
米制销轴 B型
Metric Clevis Pin with Head - Type B
38 米制销轴 A型 [美标]
ASME B 18.8.8M (A) - 1994
米制销轴 A型
Metric Clevis Pin with Head - Type A
标准编号: TB /T 54 - 1993
中文名称: 光圆销
英文名称:
数据来源: 易紧通 (164580.com)
Standard Code: TB /T 54 - 1993Chinese Name: 光圆销English Name: Source: https://www.164580.com/info_70652.html
Data Source: YJT Fastener Database (164580.com)
Standard: TB /T 54 - 1993
URL: https://www.164580.com/info_70652.html
License: Commercial use requires authorization
© 易紧通 服务热线:4006-164580(免长途费)