index
logo

制冷剂管接头 - Two-Way Tee SAE J 513 (010425) - 2019

选择规格尺寸 点击↓

3/16

1/4

5/16

3/8

1/2

5/8

3/4


尺寸单位: inch
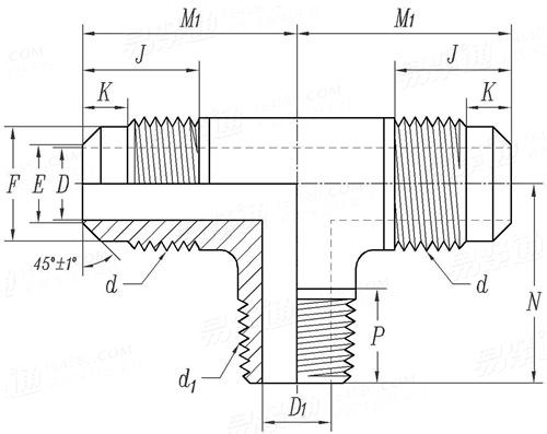
美标SAE J513 (010425) - 2019 SAE513 513SAE 制冷剂管接头 - Two-Way Tee
SAE J 513 (010425) - 2019 制冷剂管接头 - Two-Way Tee
扫一扫分享
管外径
3/16 1/4 5/16 3/8 1/2 5/8 3/4
d1 (NPTF)
d (UN)
D 毫米
英寸
D1 毫米
英寸
E 毫米
英寸
F 毫米
英寸
J 毫米 最小值
英寸 最小值
k 毫米
英寸
M1 毫米 公称
最大值
最小值
英寸 公称
最大值
最小值
N 毫米 公称
最大值
最小值
英寸 公称
最大值
最小值
P 毫米 最大值
英寸 最大值
1/8 1/8 1/8 1/4 3/8 1/2 1/2
3/8 -24 7/16 -20 1/2 -20 5/8 -18 3/4 -16 7/8 -14 1-1/16 -14
3.18 4.78 5.56 7.14 10.31 12.7 15.88
0.125 0.188 0.219 0.281 0.406 0.5 0.625
5.56 5.56 5.56 7.92 10.31 14.27 14.27
0.219 0.219 0.219 0.312 0.406 0.562 0.562
3.96 5.56 6.35 7.92 11.13 13.49 18.26
0.156 0.219 0.25 0.312 0.438 0.531 0.719
7.54 8.74 10.31 13.49 16.28 19.05 23.83
0.297 0.344 0.406 0.531 0.641 0.75 0.938
9.4 10.4 11.9 13.5 16.5 19.3 23.4
0.37 0.41 0.47 0.53 0.65 0.76 0.88
3 4.1 4.8 5.6 6.4 7.1 7.1
0.12 0.16 0.19 0.22 0.25 0.28 0.28
19 20.6 23.1 25.4 31 35.8 41.1
19.8 21.4 23.9 26.2 31.8 36.6 41.9
18.2 19.8 22.3 24.6 30.2 35 40.3
0.75 0.81 0.91 1 1.22 1.41 1.62
0.78 0.84 0.94 1.03 1.25 1.44 1.65
0.72 0.78 0.88 0.97 1.19 1.38 1.59
19 19.8 19.8 26.9 28.4 35.1 38.1
19.8 20.6 20.6 27.7 29.2 35.9 38.9
18.2 19 19 26.1 27.6 34.3 37.3
0.75 0.78 0.78 1.06 1.12 1.38 1.5
0.78 0.81 0.81 1.09 1.15 1.41 1.53
0.72 0.75 0.75 1.03 1.09 1.35 1.47
9.7 9.7 9.7 14.5 14.5 19 19
0.38 0.38 0.38 0.57 0.57 0.75 0.75
①,SAE J476

同版本产品组

注:技术数据仅供参考,请以官方原件为准!
类似标准及供货信息
1 卡套式过板直通管接头体 [国标]
GB /T 3748 - 2008
卡套式过板直通管接头体
24° Cone Connectors - Bulkhead Union
供应商(1)
2 带F型柱端的卡套式端直通管接头 [国标]
GB /T 3733 (F) - 2008
带F型柱端的卡套式端直通管接头
24° Cone Connectors - Straight Thread, Type F
3 带E型柱端的卡套式端直通管接头 [国标]
GB /T 3733 (E) - 2008
带E型柱端的卡套式端直通管接头
24° Cone Connectors - Straight Thread, Type E
4 带B型柱端的卡套式端直通管接头 [国标]
GB /T 3733 (B) - 2008
带B型柱端的卡套式端直通管接头
24° Cone Connectors - Straight Thread, Type B
5 带A型柱端的卡套式端直通管接头 [国标]
GB /T 3733 (A) - 2008
带A型柱端的卡套式端直通管接头
24° Cone Connectors - Straight Thread, Type A
6 卡套式直通管接头 [国标]
GB /T 3737 - 2008
卡套式直通管接头
24° Cone Connectors - Union
7 卡套式弯通管接头 [国标]
GB /T 3740 - 2008
卡套式弯通管接头
24° Cone Connectors - Union Elbow
8 卡套式四通管接头 [国标]
GB /T 3746 - 2008
卡套式四通管接头
24° Cone Connectors - Union Cross
9 卡套式焊接管接头 [国标]
GB /T 3747 - 2008
卡套式焊接管接头
24° Cone Connectors - Weld Male
10 卡套式锥密封组合弯通管接头 [国标]
GB /T 3754 - 2008
卡套式锥密封组合弯通管接头
24° Cone Connectors - Swivel Elbow with O-ring
11 卡套式锥密封组合直通管接头 [国标]
GB /T 3756 - 2008
卡套式锥密封组合直通管接头
24° Cone Connectors - Swivel Stud Straight Adapter with O-ring with Shud End
12 卡套式过板焊接接管接头 [国标]
GB /T 3757 - 2008
卡套式过板焊接接管接头
24° Cone Connectors - Weld-in Bulkhead Straight Connector
13 卡套式管接头用锥密封焊接接管 [国标]
GB /T 3758 - 2008
卡套式管接头用锥密封焊接接管
24° Cone Connectors - Weld-on Nipple
14 卡套式管接头用锥密封堵头 [国标]
GB /T 3760 - 2008
卡套式管接头用锥密封堵头
24° Cone Connectors - Plug with O-ring
15 卡套 [国标]
GB /T 3764 - 2008
卡套
24° Cone Connectors - Ferrule
16 卡套式端直通管接头 [国标]
GB /T 3733.1 - 1983
卡套式端直通管接头
Straight Thread Connector - Assembly
17 卡套式锥螺纹直通接头体 [国标]
GB 3734.2 - 1983
卡套式锥螺纹直通接头体
Male Connector - Body
18 卡套式三通管接头 [国标]
GB 3745.1 - 1983
卡套式三通管接头
Unlon tee-Assembly
19 卡套式压力表管接头 [国标]
GB 3751.1 - 1983
卡套式压力表管接头
Connector for Pressure Gauge - Assembly
20 卡套式压力表接头体 [国标]
GB 3751.2 - 1983
卡套式压力表接头体
Connector for Pressure Gauge - Body
21 管件结构 [国标]
GB 3289.1 - 1982
管件结构

22 可锻铸铁管路连接件型式尺寸 三通 内外丝三通 [国标]
GB 3289.10 - 1982
可锻铸铁管路连接件型式尺寸 三通 内外丝三通
Malleable Cast Iron Pipe Fittings - Type Size - Tees, Male and Female Tees
23 可锻铁管路连接件型式尺寸 弯头 内外丝弯头 [国标]
GB 3289.2 - 1982
可锻铁管路连接件型式尺寸 弯头 内外丝弯头
Malleable Cast Iron Pipe Fittings - Type Size - Elbows Male and Female Elbows
24 可锻铸铁管路连接件型式尺寸 四通 [国标]
GB 3289.20 - 1982
可锻铸铁管路连接件型式尺寸 四通
Malleable Cast Iron Pipe Fittings - Type Size - Crosses
25 可锻铸铁管路连接件型式尺寸 外接头 内外丝接头 [国标]
GB 3289.22 - 1982
可锻铸铁管路连接件型式尺寸 外接头 内外丝接头
Malleable Cast Iron Pipe Fittings - Type Size - Male Joints (Sockets), Male and Female Joints (Sockets)
26 可锻铸铁管路连接件型式尺寸 无方内接头 [国标]
GB 3289.23 - 1982
可锻铸铁管路连接件型式尺寸 无方内接头
Malleable Cast Iron Pipe Fittings - Type Size - No - Square Inner Joint (Nipples)
27 可锻铁管路连接件型式尺寸 45°弯头 45°内外丝弯头 [国标]
GB 3289.3 - 1982
可锻铁管路连接件型式尺寸 45°弯头 45°内外丝弯头
Malleable Cast Iron Pipe Fittings - Type Size - Elbows 45°, Male and Female Elbows 45°
28 可锻铸铁管路连接件型式尺寸 U型弯头 [国标]
GB 3289.9 - 1982
可锻铸铁管路连接件型式尺寸 U型弯头
Malleable Cast Iron Pipe Fittings - Type Size - U Elbows (Return Bends)
29 符合DIN 3852-1和DIN 3852-2中C型锥形管螺纹连接的卡套式接头 [德标]
DIN 2353 - 2013
符合DIN 3852-1和DIN 3852-2中C型锥形管螺纹连接的卡套式接头
Non-soldering Compression Fittings with Cutting Ring for Screwed Connections with Tapered Screw-in Spigot form C According to DIN 3852-1 and DIN 3852-2
30 符合DIN 3852-1,DIN 3852-2的带有A或B型管螺纹的接头  - 直通 [德标]
DIN 2353 - 2013
符合DIN 3852-1,DIN 3852-2的带有A或B型管螺纹的接头 - 直通
Non-soldering Compression Fittings with Cylindrical Screw-in Pins form A or B According to DIN 3852-1, DIN 3852-2
31 符合DIN 3852-1,DIN 3852-2的带有A或B型管螺纹的接头 - 弯通,L形,T形 [德标]
DIN 2353 - 2013
符合DIN 3852-1,DIN 3852-2的带有A或B型管螺纹的接头 - 弯通,L形,T形
Screw-in Fittings with Tapered Screw-in Pins Form A oder B Nach DIN 3852-1, DIN 3852-2
32 卡套式端直通管接头体,填料密封(E),普通螺纹端(M) [国际]
ISO 8434-1 (SDS-E-M) - 2018
卡套式端直通管接头体,填料密封(E),普通螺纹端(M)
Stud Connectors with Stud End, Elastomeric Sealing (E), Metric Screw Thread(M)
供应商(1)
33 卡套式端直通管接头体,填料密封(E),55°非密封管螺纹端(G) [国际]
ISO 8434-1 (SDS-E-G) - 2018
卡套式端直通管接头体,填料密封(E),55°非密封管螺纹端(G)
Stud Connectors with Stud End, Elastomeric Sealing (E), Pipe Thread (G)
供应商(1)
34 卡套式焊接直通管接头体 [国际]
ISO 8434-1 (WDS) - 2018
卡套式焊接直通管接头体
Weld-on Straight Connector
供应商(1)
35 卡套式管接头用,锥密封堵头,O形圈密封 [国际]
ISO 8434-1 (PL) - 2018
卡套式管接头用,锥密封堵头,O形圈密封
Plug with O-ring
供应商(1)
36 弹性密封(E型)端头和直管螺纹的直管接头 (SDS-E) [国际]
ISO 8434 (-1) - 2007
弹性密封(E型)端头和直管螺纹的直管接头 (SDS-E)
Stud Connector (SDS) for Ports with Elastomeric Sealing (type E) and Parallel Threads
供应商(1)
37 卡套(CR)和24°锥形端头 [国际]
ISO 8434-1 (CR) - 2018
卡套(CR)和24°锥形端头
Cutting Ring (CR) and 24° Cone End
38 卡套式管接头用 - 锥密封, 焊接接管 [国际]
ISO 8434-1 (WDNP) - 2018
卡套式管接头用 - 锥密封, 焊接接管
Weld-on Nipple
39 卡套式管接头用 - 焊接缩径管接头 [国际]
ISO 8434-1 (WDRDNP) - 2018
卡套式管接头用 - 焊接缩径管接头
Weld-on Reducing Nipples
40 卡套式直通管接头体(直通中间接头) [国际]
ISO 8434-1 (S) - 2018
卡套式直通管接头体(直通中间接头)
Straight Union Connectors
41 卡套式弯通管接头体(弯头) [国际]
ISO 8434-1 (E) - 2018
卡套式弯通管接头体(弯头)
Elbow Union Connectors
42 卡套式三通管接头体(T形) [国际]
ISO 8434-1 (T) - 2018
卡套式三通管接头体(T形)
Tee Union Connectors
43 卡套式四通管接头体(十字形) [国际]
ISO 8434-1 (K) - 2018
卡套式四通管接头体(十字形)
Cross Union Connectors
44 卡套式端直通管接头体,O形圈密封,L系列或S系列 [国际]
ISO 8434-1 (SDS-F) - 2018
卡套式端直通管接头体,O形圈密封,L系列或S系列
Stud Connectors with Stud end (O-ring Sealing), S Series or L Series
45 卡套式端直通管接头体,金属对金属密封(B),普通螺纹端(M) [国际]
ISO 8434-1 (SDS-B-M) - 2018
卡套式端直通管接头体,金属对金属密封(B),普通螺纹端(M)
Stud Connectors with Stud end, Metal-to-Metal Sealing (B), Metric Screw Thread(M)
46 卡套式端直通管接头体,金属对金属密封(B) ,55°非密封管螺纹端(G) [国际]
ISO 8434-1 (SDS-B-G) - 2018
卡套式端直通管接头体,金属对金属密封(B) ,55°非密封管螺纹端(G)
Stud Connectors with Stud End, Metal-to-Metal Sealing (B), Pipe Thread (G)
47 卡套式过板直通管接头体 [国际]
ISO 8434-1 (BHS) - 2018
卡套式过板直通管接头体
Bulkhead Straight Connectors
48 卡套式过板弯通管接头体(弯头) [国际]
ISO 8434-1 (BHE) - 2018
卡套式过板弯通管接头体(弯头)
Bulkhead Elbows
49 卡套式焊接过板焊接直通管接头体 [国际]
ISO 8434-1 (WDBHS) - 2018
卡套式焊接过板焊接直通管接头体
Weld-in Bulkhead Connectors
50 卡套式锥密封组合直通管接头,O形圈密封(F) [国际]
ISO 8434-1 (SWOSDS-F) - 2018
卡套式锥密封组合直通管接头,O形圈密封(F)
Swivel Stud Straight Adapters with O-ring Sealing
51 卡套式锥密封组合直通管接头,填料密封(E),非密封管螺纹端(G) [国际]
ISO 8434-1 (SWODS-E-G) - 2018
卡套式锥密封组合直通管接头,填料密封(E),非密封管螺纹端(G)
Swivel Stud Straight Adapters, Elastomeric Sealing (E), Pipe Thread (G)
52 卡套式锥密封组合直通管接头,填料密封(E),普通螺纹端(M) [国际]
ISO 8434-1 (SWODS-E-M) - 2018
卡套式锥密封组合直通管接头,填料密封(E),普通螺纹端(M)
Swivel Stud Straight Adapters, Elastomeric Sealing (E), Metric Thread (M)
53 卡套式锥密封组合弯通管接头 [国际]
ISO 8434-1 (SWOE) - 2018
卡套式锥密封组合弯通管接头
Swivel Elbow with O-Ring Sealing
54 卡套式锥密封组合三通(T)支管(B)接头 [国际]
ISO 8434-1 (SWOBT) - 2018
卡套式锥密封组合三通(T)支管(B)接头
Branch Tee with O-ring Sealing
55 卡套式锥密封组合三通(T)主管接头 [国际]
ISO 8434-1 (SWORT) - 2018
卡套式锥密封组合三通(T)主管接头
Run Tee with O-ring Sealing
56 卡套式锥密封组合缩径(RD)直通管接头,O形圈密封 [国际]
ISO 8434-1 (RDSW) - 2018
卡套式锥密封组合缩径(RD)直通管接头,O形圈密封
Reducing Swivel Straight Adapter with O-ring Sealing
57 液压角通接头 带O型圈 (SWOE) [国际]
ISO 8434 (-1) - 2007
液压角通接头 带O型圈 (SWOE)
Swivel elbow (SWOE) with O-ring
58 卡套式直通管接头 (直通中间接头) [表5] [日标]
JIS B 2351-1 (S) - 2000
卡套式直通管接头 (直通中间接头) [表5]
Straight Union Fittings
59 卡套式弯通管接头 (弯头) [表6] [日标]
JIS B 2351-1 (E) - 2000
卡套式弯通管接头 (弯头) [表6]
Elbow Union Connectors
60 卡套式三通管接头 [表6] [日标]
JIS B 2351-1 (T) - 2000
卡套式三通管接头 [表6]
Tee Union Connectors
61 卡套式四通管接头 [表6] [日标]
JIS B 2351-1 (K) - 2000
卡套式四通管接头 [表6]
Cross Union Connectors
62 卡套式直通管接头 [表7] [日标]
JIS B 2351-1 (SDS) - 2000
卡套式直通管接头 [表7]
Stud Fittings for Ports in Accordance with ISO 6149-1
63 卡套式直通管接头 填料密封(E) 普通螺纹 [表8] [日标]
JIS B 2351-1 (SDS-E) - 2000
卡套式直通管接头 填料密封(E) 普通螺纹 [表8]
Stud Fittings for Ports with Parallel Thread and Elastomeric Sealing (E)
64 卡套式直通管接头 金属密封 普通螺纹 [表9] [日标]
JIS B 2351-1 (SDS-B) - 2000
卡套式直通管接头 金属密封 普通螺纹 [表9]
Stud Fittings for Ports with Parallel Threads and Metal-to-metal Sealing
65 卡套式过板直通管接头及锁紧螺母 [表10] [日标]
JIS B 2351-1 (BH / LN) - 2000
卡套式过板直通管接头及锁紧螺母 [表10]
Bulkhead Bolt and Locknuts
66 卡套式过板弯通管接头 (弯头) [表11] [日标]
JIS B 2351-1 (BHE) - 2000
卡套式过板弯通管接头 (弯头) [表11]
Bulkhead Elbow Fittings
67 焊接隔壁式直通管接头 [表12] [日标]
JIS B 2351-1 (WDBH) - 2000
焊接隔壁式直通管接头 [表12]
Weld-in Bulkhead Fittings
68 端口符合ISO 6149-1的旋转接头 [表14] [日标]
JIS B 2351-1 (SW) - 2000
端口符合ISO 6149-1的旋转接头 [表14]
Swivel Adaptors (SW ) for Ports in Accordance with ISO 6149-1
69 填料密封端口用旋转接头 [表15] [日标]
JIS B 2351-1 (SW) - 2000
填料密封端口用旋转接头 [表15]
Swivel Adaptors (SW ) for Ports with Elastic Sealing
70 金属密封端口用旋转接头 [表16] [日标]
JIS B 2351-1 (SW) - 2000
金属密封端口用旋转接头 [表16]
Swivel Adaptors (SW) for Ports with Metal-to-metal Sealing
71 旋转接头 弯头 [表17] [日标]
JIS B 2351-1 (SWE) - 2000
旋转接头 弯头 [表17]
Swivel Elbows (SWE)
72 旋转接头 支路三通 [表17] [日标]
JIS B 2351-1 (SWBT) - 2000
旋转接头 支路三通 [表17]
Branch Tees (SWBT)
73 旋转接头 主路三通 [表17] [日标]
JIS B 2351-1 (SWRT) - 2000
旋转接头 主路三通 [表17]
Run Tees (SWRT)
74 24度锥形端头和卡套 [表3] [日标]
JIS B 2351-1 - 2000
24度锥形端头和卡套 [表3]
Compression End and Ring
75 卡套 [汽标代号]
Q 800B
卡套
24° Cone Connectors - Ferrule
76 卡套式直通接头体 [汽标代号]
Q 803B
卡套式直通接头体
24° Cone Connectors - Union
77 卡套式端直通接头体 [汽标代号]
Q 804B
卡套式端直通接头体
24° Cone Connectors - Straight Thread
78 卡套式锥螺纹直通接头体 [汽标代号]
Q 805B
卡套式锥螺纹直通接头体
24° Cone Connectors - Male - Body
79 卡套式直角接头体 [汽标代号]
Q 806
卡套式直角接头体
24° Cone Connectors - Union Elbow
80 卡套式弯通接头体 [汽标代号]
Q 806B
卡套式弯通接头体
24° Cone Connectors - Union Elbow
81 卡套式锥螺纹直角接头体 [汽标代号]
Q 808B
卡套式锥螺纹直角接头体
24° Cone Connectors - Male - Body
82 卡套式三通接头体 [汽标代号]
Q 809B
卡套式三通接头体
24° Cone Connectors - Union Tee
83 卡套式锥螺纹三通接头体 [汽标代号]
Q 810B
卡套式锥螺纹三通接头体
24° Cone Connectors - Male Branch Tee - Body
84 卡套式锥螺纹直角三通接头体 [汽标代号]
Q 811B
卡套式锥螺纹直角三通接头体
24° Cone Connectors - Male Run Tee - Body
85 卡套式四通接头体 [汽标代号]
Q 812B
卡套式四通接头体
24° Cone Connectors - Union Cross
86 卡套式过板直通接头体 [汽标代号]
Q 813B
卡套式过板直通接头体
24° Cone Connectors - Bulkhead Union
87 卡套式过板弯通接头体 [汽标代号]
Q 814B
卡套式过板弯通接头体
24° Cone Connectors - Bulkhead Union Elbow
88 卡套式组合弯通接头体 [汽标代号]
Q 815B
卡套式组合弯通接头体
24° Cone Connectors - Adjustable Elbow
89 卡套式组合三通接头体 [汽标代号]
Q 816B
卡套式组合三通接头体
24° Cone Connectors - Adjustable Tee
90 卡套式铰接接头体 [汽标代号]
Q 817B
卡套式铰接接头体
24° Cone Connectors - Angle Swivel Screw Connector
91 卡套式铰接六角螺栓 [汽标代号]
Q 818B
卡套式铰接六角螺栓

92 卡套式压力表接头体 [汽标代号]
Q 820B
卡套式压力表接头体
24° Cone Connectors - Connector for Pressure Gauge
93 柴油机 低压金属油管组件 技术条件 - 旋入接头 [机械行业]
JB /T 6013 - 2011
柴油机 低压金属油管组件 技术条件 - 旋入接头
Diesel Engines - Requirements for Low Pressure Hydraulic Pipe Assemblies - Screw in connector
供应商(1)
94 柴油机 低压金属油管组件 技术条件 - A 型低压油管组件 [球型旋入管接头] [机械行业]
JB /T 6013 (A) - 2011
柴油机 低压金属油管组件 技术条件 - A 型低压油管组件 [球型旋入管接头]
Diesel Engines - Requirements for Low Pressure Hydraulic Pipe Assemblies - Type A
95 柴油机 低压金属油管组件 技术条件 - B 型低压油管组件 [球型中间管接头] [机械行业]
JB /T 6013 (B) - 2011
柴油机 低压金属油管组件 技术条件 - B 型低压油管组件 [球型中间管接头]
Diesel Engines - Requirements for Low Pressure Hydraulic Pipe Assemblies - Type B
96 柴油机 低压金属油管组件 技术条件 - 球形管节 [机械行业]
JB /T 6013 - 2011
柴油机 低压金属油管组件 技术条件 - 球形管节
Diesel Engines - Requirements for Low Pressure Hydraulic Pipe Assemblies - Spherical Tube Section
97 柴油机 低压金属油管组件 技术条件 - 中间接头 [机械行业]
JB /T 6013 - 2011
柴油机 低压金属油管组件 技术条件 - 中间接头
Diesel Engines - Requirements for Low Pressure Hydraulic Pipe Assemblies - Intermediate union
98 55°非密封管螺纹锥接头 [机械行业]
JB /T 6144.2 - 2007
55°非密封管螺纹锥接头
Cone Coupling with G-type Pipe Threads
99 润滑系统用管接头 - 端接管接头 [机械行业]
JB /ZQ 4569 - 2006
润滑系统用管接头 - 端接管接头

100 直角管接头 20MPa [机械行业]
JB /ZQ 4571 - 1997
直角管接头 20MPa

标准编号: SAE J 513 (010425) - 2019
中文名称: 制冷剂管接头 - Two-Way Tee
英文名称: Refrigeration Tube Fittings - Two-Way Tee
数据来源: 易紧通 (164580.com)
Standard Code: SAE J 513 (010425) - 2019Chinese Name: 制冷剂管接头 - Two-Way TeeEnglish Name: Refrigeration Tube Fittings - Two-Way TeeSource: https://www.164580.com/info_397494.html
Data Source: YJT Fastener Database (164580.com)
Standard: SAE J 513 (010425) - 2019
URL: https://www.164580.com/info_397494.html
License: Commercial use requires authorization
© 易紧通 服务热线:4006-164580(免长途费)