index
logo

插入式圆柱形吊耳 吊耳螺栓 JB /ZQ 4630 - 1997

选择规格尺寸 点击↓

25

32

40

50

65

80

100

125

160

200


尺寸单位: mm
机械行业JB /ZQ4630 - 1997 JB4630 4630JB 插入式圆柱形吊耳 吊耳螺栓
JB /ZQ 4630 - 1997 插入式圆柱形吊耳 吊耳螺栓
扫一扫分享
千件重及价格计算 千件重 : kg x 元/kg = 元/千件
默认密度 g/cm3
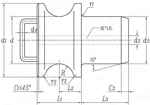
公称直径
d
25 32 40 50 65 80 100 125 160 200
d1
d2 公称
最大值
最小值
d3
d4
L1
L2
R
r1
r2
c1
c2
单重≈kg
每个吊耳允许起重量 (t)
35 50 60 80 100 124 150 185 230 280
25 32 40 50 65 80 100 125 160 200
25.4 32.4 40.4 50.4 65.4 80.4 100.4 125.4 160.4 200.4
24.5 31.5 39.5 49.5 64.5 79.5 99.5 124.5 159.5 199.5
5.5 5.5 5.5 11 11 11 22 22 22 22
/ / / / / / 10 10 16 16
20 30 36 46 56 72 84 104 136 154
10 15 18 23 28 36 42 52 68 77
6 10 12 18 20 25 30 35 40 45
1.6 1.6 1.6 2.5 2.5 4 6 6 6 10
2 2 2 2 3 3 5 6 8 8
1 1 1 1.5 2 3 3 5 8 10
5 5 5 10 10 10 15 15 15 15
0.2 0.4 1.1 1.5 3.35 8.3 17.3 24.8 54.8 101
1 1.4 2.3 3.5 6.2 9 15 24 38 66
①,插入长度L3由结构选定,取值范围为1~1.5d2,插入孔处的壁厚S应大于或等于L3。
②,仅d1≥100mm的吊耳带有手柄。
③,吊耳重量是按L3=d2计算的近似值。
注:技术数据仅供参考,请以官方原件为准!
类似标准及供货信息
1 吊环螺钉 [国标]
GB 825 - 1988
吊环螺钉
Eye Bolts
供应商(10)
2 开口环眼单头螺纹吊杆 [国标]
GB /T 17116.3 - 2018
开口环眼单头螺纹吊杆

3 闭口环眼单头螺纹吊杆 [国标]
GB /T 17116.3 - 2018
闭口环眼单头螺纹吊杆

4 焊接单眼螺纹吊杆 [国标]
GB /T 17116.3 - 2018
焊接单眼螺纹吊杆

5 环眼双头螺纹吊杆 [国标]
GB /T 17116.3 - 2018
环眼双头螺纹吊杆

6 一般起重用4级锻造吊环螺钉 [国标]
GB /T 27696 - 2011
一般起重用4级锻造吊环螺钉
Forged Steel Eyebolts Grade 4 for General Lifting Purposes
7 J型螺栓,偏置圆弯头 [美标]
IFI 136 (J-Bolts)
J型螺栓,偏置圆弯头
J-Bolts, Offset Round Bend
供应商(1)
8 钩型螺栓,方形弯角 [美标]
IFI 136 (Hook Bolts)
钩型螺栓,方形弯角
Hook Bolts, Square Bends
9 吊环螺钉 [德标]
DIN 580 - 2024
吊环螺钉
Lifting Eye Bolts
供应商(6)
10 吊环螺钉 [德标]
DIN 580 - 2018
吊环螺钉
Lifting Eye Bolts
供应商(6)
11 吊环螺钉 [德标]
DIN 580 - 2010
吊环螺钉
Lifting Eye Bolts
供应商(6)
12 吊环螺钉 [德标]
DIN 580 - 2009
吊环螺钉
Lifting Eye Bolts
供应商(6)
13 吊环螺钉 [德标]
DIN 580 - 1972
吊环螺钉
Eye Bolts
供应商(6)
14 一般起重用4级锻造吊环螺钉 [国际]
ISO 3266 - 2010
一般起重用4级锻造吊环螺钉
Forged Steel Eyebolts Grade 4 for General Lifting Purposes
15 吊环螺钉 [日标]
JIS B 1168 - 1994
吊环螺钉
Eye Bolts
16 吊环螺钉 [日标]
JIS B 1168 - 1975
吊环螺钉
Eye Bolts
17 1型吊环螺钉 (A/B) [Table 1] (A489, F541, A473) [美标]
ASME/ANSI B 18.15 - 1985 (R1995)
1型吊环螺钉 (A/B) [Table 1] (A489, F541, A473)
Type 1, Style A and B Plain Pattern (Straight Shank) Eyebolts [Table 1] (A489, F541, A473)
18 台阶吊环螺钉 [Table 2]  (A489, F541, A473) [美标]
ASME/ANSI B 18.15 - 1985 (R1995)
台阶吊环螺钉 [Table 2] (A489, F541, A473)
Type 2, Styles A and B Shoulder Pattern Eyebolt [Table 2] (A489, F541, A473)
19 吊环螺钉 [意大利]
UNI 2947
吊环螺钉
Eye Bolts
20 吊环型吊杆 [化工]
HG /T 21629 (A16) - 1999
吊环型吊杆

21 升降用吊环螺钉 [英标]
BS 4278 - 1984
升降用吊环螺钉
Collar Eyebolt
22 电机用吊环螺钉 [英标]
BS 4278 - 1984
电机用吊环螺钉
Dynamo Eyebolt
23 带铁链吊环螺钉 [英标]
BS 4278 - 1984
带铁链吊环螺钉
Eyebolt with Link
24 羊眼螺栓 [铁道部]
TB /T 896 - 1999
羊眼螺栓

25 眼环螺栓 [铁道部]
TB /T 897 - 1999
眼环螺栓

26 万向旋转吊环(替代YJT /T 1095) [标准]
YJT 17022
万向旋转吊环(替代YJT /T 1095)
Swivel Hoist Ring
供应商(1)
27 侧拉旋转吊环 [标准]
YJT 17023
侧拉旋转吊环
Lifing Point
供应商(1)
28 侧拉旋转吊环 [标准]
YJT 17027
侧拉旋转吊环

供应商(1)
29 吊环 [标准]
YJT 1001
吊环

30 吊环 [标准]
YJT 1002
吊环

31 吊环自攻钉(羊眼) [标准]
YJT 4001
吊环自攻钉(羊眼)
Self Tapping Screw with Rings
32 华司开口羊眼束牙 [标准]
YJT 4081
华司开口羊眼束牙
Shouldered Cup - Hooks
33 一般起重用4级锻造吊环螺钉 [德标]
DIN EN ISO 3266 - 2016
一般起重用4级锻造吊环螺钉
Forged Steel Eyebolts Grade 4 for General Lifting Purposes
34 吊环螺钉 [印标]
IS 4190 - 1984
吊环螺钉
Eye Bolts with Collars
35 1型吊环螺钉 (A/B) [Table 1] (A489, F541, A473) [美标]
ASME B 18.15 (Type 1) - 2015 (R2021)
1型吊环螺钉 (A/B) [Table 1] (A489, F541, A473)
Type 1, Style A and B Plain Pattern (Straight Shank) Eyebolts [Table 1] (A489, F541, A473)
36 台阶吊环螺钉 [Table 2] (A489, F541, A473) [美标]
ASME B 18.15 (Type 2) - 2015 (R2021)
台阶吊环螺钉 [Table 2] (A489, F541, A473)
Type 2, Styles A and B Shoulder Pattern Eyebolt [Table 2] (A489, F541, A473)
37 吊环螺栓,封闭式锚环 (F468, F593, F1554, A307, A193/A193M, A320/A320M, SAE J429) [美标]
ASME B 18.31.5 (ECA) - 2011
吊环螺栓,封闭式锚环 (F468, F593, F1554, A307, A193/A193M, A320/A320M, SAE J429)
Eyebolts, Closed Anchor Ring (F468, F593, F1554, A307, A193/A193M, A320/A320M, SAE J429)
38 吊环螺栓,开口锚环 (F468, F593, F1554, A307, A193/A193M, A320/A320M, SAE J429) [美标]
ASME B 18.31.5 (EOA) - 2011
吊环螺栓,开口锚环 (F468, F593, F1554, A307, A193/A193M, A320/A320M, SAE J429)
Eyebolts, Open Anchor Ring (F468, F593, F1554, A307, A193/A193M, A320/A320M, SAE J429)
标准编号: JB /ZQ 4630 - 1997
中文名称: 插入式圆柱形吊耳 吊耳螺栓
英文名称:
数据来源: 易紧通 (164580.com)
Standard Code: JB /ZQ 4630 - 1997Chinese Name: 插入式圆柱形吊耳 吊耳螺栓English Name: Source: https://www.164580.com/info_403019.html
Data Source: YJT Fastener Database (164580.com)
Standard: JB /ZQ 4630 - 1997
URL: https://www.164580.com/info_403019.html
License: Commercial use requires authorization
© 易紧通 服务热线:4006-164580(免长途费)