index
logo

小六角自锁螺母 GB 1339 - 1977

查看供应商

选择规格尺寸 点击↓

M8

M10

M12

(M14)

M16

(M18)

M20

(M22)

M24

括号内尺寸为非优选

尺寸单位: mm
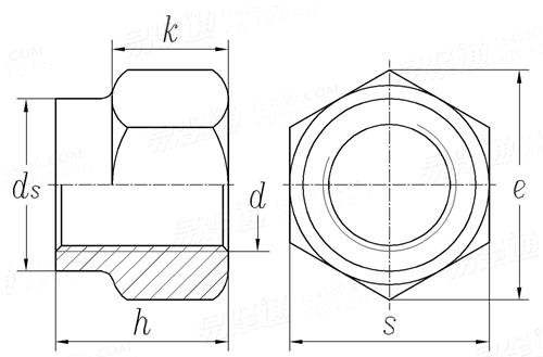
国标GB 1339 - 1977 GB1339 1339GB 小六角自锁螺母
GB  1339 - 1977 小六角自锁螺母
扫一扫分享
千件重及价格计算 千件重 : kg x 元/kg = 元/千件
默认密度 g/cm3
螺纹规格
d
M8 M10 M12 (M14) M16 (M18) M20 (M22) M24
P 螺距
ds 最大值
最小值
h 公称
最大值
最小值
k 公称
最大值
最小值
s 最大值
最小值
e
千件重kg
1.25 1.5 1.5 1.5 1.5 1.5 1.5 1.5 1.5
9 11 13.2 15.5 17.6 19.6 21.6 23.7 25.7
8.9 10.9 13.1 15.4 17.5 19.5 21.5 23.6 25.6
8 10 12 13 15 16.5 18 20 22
8.18 10.18 12.22 13.22 15.22 16.72 18.22 20.26 22.26
7.82 9.82 11.78 12.78 14.78 16.28 17.78 19.74 21.74
4 5.5 6.5 8 9 11 12 12.5 14
4.15 5.65 6.68 8.18 9.18 11.22 12.22 12.72 14.22
3.85 5.35 6.32 7.82 8.82 10.78 11.78 12.28 13.78
12 14 17 19 22 24 27 30 32
11.76 13.76 16.76 18.72 21.72 23.72 26.72 29.72 31.66
13.8 16.2 19.6 21.9 25.4 27.7 31.2 34.6 36.9
3.362 5.659 9.68 13.407 20.19 26.664 36.606 47.953 58.106
替代列表

技术条件和引用标准

材料
技术条件
30CrMnSiA
GB 943-77
注:技术数据仅供参考,请以官方原件为准!
告诉我在“易紧通”看到,将给您优惠
联系人:崔健 点击这里给我发消息719203564   移动电话: 13951147431 15952651779     电话:0523-83606788     微信号:13951147431
材质:304、304L、316、316L、317L、310、310S、2520、904L等;规格:M3-M64,支持非标定制
联系人:汪先生 点击这里给我发消息2208554729   移动电话: 19951204058     微信号:19951204058
材质:30crMnSiA、HRC30-36;规格范围:M3-M16;表面处理:镀铬钝化、六价彩锌等。
类似标准及供货信息
1 2型全金属六角锁紧螺母 [国标]
GB /T 6185.1 - 2016
2型全金属六角锁紧螺母
Prevailing Torque Type All-Metal Hexagon Nuts,Style 2
供应商(11)
2 2型 全金属六角锁紧螺母 细牙 [国标]
GB /T 6185.2 - 2016
2型 全金属六角锁紧螺母 细牙
Prevailing Torque Type All-Metal Hexagon Nuts, Style 2 - Fine Pitch Thread
供应商(6)
3 1型全金属六角锁紧螺母 [国标]
GB /T 6184 - 2000
1型全金属六角锁紧螺母
Prevailing Torque Type All-Metal Hexagon Nuts, Style 1
供应商(14)
4 2型 全金属六角锁紧螺母 [国标]
GB /T 6185.1 - 2000
2型 全金属六角锁紧螺母
Prevailing Torque Type All-metal Hexagon Nuts, Style 2
供应商(11)
5 2型全金属六角锁紧螺母 细牙 [国标]
GB /T 6185.2 - 2000
2型全金属六角锁紧螺母 细牙
Prevailing Torque Type All-metal Hexagon Nuts, Style 2, with Fine Pitch Thread
供应商(6)
6 2型全金属六角锁紧螺母 性能等级:9级 [国标]
GB /T 6186 - 2000
2型全金属六角锁紧螺母 性能等级:9级
Prevailing Torque Type All-Metal Hexagon Nuts, Style 2 - Property Class 9
供应商(2)
7 六角自锁螺母 [国标]
GB 1337 - 1988
六角自锁螺母
Self-Locking Nuts, Hexagon
供应商(3)
8 小六角扁自锁螺母 [国标]
GB /T 1338 - 1988
小六角扁自锁螺母
Self-locking Nuts, Reduced Hexagon Oblate
供应商(1)
9 小六角自锁螺母 [国标]
GB 1339 - 1988
小六角自锁螺母
Self-Locking Nuts, Reduced Hexagon
供应商(2)
10 2型全金属六角锁紧螺母  5、8、10和12级 [国标]
GB 6185 - 1986
2型全金属六角锁紧螺母 5、8、10和12级
Prevailing Torque Type All-metal Hexagon Nuts, Style 2 - Property Classes 5, 8, 10, and 12
供应商(11)
11 2型全金属六角锁紧螺母 9级 [国标]
GB 6186 - 1986
2型全金属六角锁紧螺母 9级
Prevailing Torque Type All-metal Hexagon Nuts, Style 2 - Property Class 9
供应商(2)
12 轻型六角自锁螺母 [国标]
GB /T 925 - 1988
轻型六角自锁螺母
Self-locking Nuts, Hexagon, light
13 扭矩型金属锁紧六角螺母和小六角螺母 Table 2 [美标]
IFI 100-107 - 2002
扭矩型金属锁紧六角螺母和小六角螺母 Table 2
Prevalllng-Torque Type Regular Hex and Light Hex Series Nuts
供应商(2)
14 全金属六角锁紧螺母 [德标]
DIN 6925 - 1987
全金属六角锁紧螺母
Prevailing Torque Type All-Metal Hexagon Nuts
供应商(2)
15 全金属锁紧螺母 (V型) [德标]
DIN 980 (V) - 1987
全金属锁紧螺母 (V型)
All-Metal Prevailing Torque Type Hexagon Nuts with Single Piece Metal (Type V)
供应商(17)
16 金属锁片六角锁紧螺母 (M型) [德标]
DIN 980 (M) - 1987
金属锁片六角锁紧螺母 (M型)
Prevailing Torque Type Hexagon Nuts with Two-piece Metal (Type M)
供应商(2)
17 细牙全金属六角锁紧螺母 [国际]
ISO 10513 - 2025
细牙全金属六角锁紧螺母
Prevailing Torque Hexagon Nuts - High Nuts (all metal), with Fine Pitch Thread
供应商(3)
18 全金属六角锁紧螺母 [国际]
ISO 7042 - 2025
全金属六角锁紧螺母
Prevailing Torque Hexagon Nuts, High Nuts (all metal)
供应商(7)
19 全金属六角锁紧螺母 [国际]
ISO 7719 - 2025
全金属六角锁紧螺母
Prevailing Torque Hexagon Nuts - Regular Nuts (all metal)
供应商(2)
20 全金属六角锁紧螺母 [国际]
ISO 7720 - 2025
全金属六角锁紧螺母
Prevailing Torque Hexagon Nuts - High Nuts (all metal) with Slot (S)
供应商(1)
21 全金属六角锁紧螺母 细牙 性能等级:8、10、12级 [国际]
ISO 10513 - 2012
全金属六角锁紧螺母 细牙 性能等级:8、10、12级
Prevailing Torque Type All-Metal Hexagon High Nuts with Metric Fine Pitch Thread - Property Classes 8,10 and 12
供应商(3)
22 全金属六角锁紧厚螺母 (性能等级:5、8、10、12级) [国际]
ISO 7042 - 2012
全金属六角锁紧厚螺母 (性能等级:5、8、10、12级)
Prevailing Torque Type All-Metal Hexagon High Nuts - Property Classes 5,8,10 and 12
供应商(7)
23 1型 全金属六角锁紧螺母 性能等级:5、8、10级 [国际]
ISO 7719 - 2012
1型 全金属六角锁紧螺母 性能等级:5、8、10级
Prevailing Torque Type All-Metal Hexagon Regular Nuts - Property Classes 5,8 and 10
供应商(2)
24 2型 全金属六角锁紧螺母 性能等级:9级 [国际]
ISO 7720 - 2012
2型 全金属六角锁紧螺母 性能等级:9级
Prevailing Torque Type All-Metal Hexagon Nuts, Style 2 - Property Class 9
供应商(1)
25 2型细牙全金属六角锁紧螺母 8级、10级、12级 [国际]
ISO 10513 - 1997
2型细牙全金属六角锁紧螺母 8级、10级、12级
Prevailing Torque Type All-metal Hexagon Nuts, Style 2, with Metric Fine Pitch Thread - Property Classes 8, 10 and 12
供应商(3)
26 全金属六角锁紧螺母 [国际]
ISO 7042 - 1997
全金属六角锁紧螺母
Prevailing Torque Type All-metal Hexagon Nuts, Style 2 - Property Classes 5, 8, 10 and 12
供应商(7)
27 1型全金属六角锁紧螺母   5、8、10级 [国际]
ISO 7719 - 1997
1型全金属六角锁紧螺母 5、8、10级
Prevailing Torque Type All-metal Hexagon Nuts, Style 1 - Property Classes 5, 8 and 10
供应商(2)
28 全金属锁紧六角螺母 9级 [国际]
ISO 7720 - 1997
全金属锁紧六角螺母 9级
Prevailing Torque Type All-metal Hexagon Nuts, Style 2 - Property Class9
供应商(1)
29 1型全金属六角锁紧螺母 [表1.1] [日标]
JIS B 1199-2 (ISO 7719) - 2001
1型全金属六角锁紧螺母 [表1.1]
Prevailing Torque Type All-metal Hexagon Lock Nuts, Style 1
30 2型全金属六角锁紧螺母 [表2.1] [日标]
JIS B 1199-2 (ISO 7042) - 2001
2型全金属六角锁紧螺母 [表2.1]
Prevailing Torque Type All-metal Hexagon Lock Nuts - Style 2
31 2型全金属锁紧六角螺母 9级 [表3.1] [日标]
JIS B 1199-2 (ISO 7720) - 2001
2型全金属锁紧六角螺母 9级 [表3.1]
Prevailing Torque Type All-metal Hexagon Nuts, Style 2 - Property Class9
32 2型, 细牙, 全金属六角锁紧螺母 [日标]
JIS B 1199-2 (ISO 10513) - 2001
2型, 细牙, 全金属六角锁紧螺母
Prevailing Torque Type All-metal Hexagon Nuts, Style 2, with Metric Fine Pitch Thread
33 2型全金属六角锁紧螺母 [汽标代号]
Q 332
2型全金属六角锁紧螺母
Prevailing Torque Type All-metal Hexagon
供应商(4)
34 细牙2型压点式六角锁紧螺母 [汽标代号]
Q 333
细牙2型压点式六角锁紧螺母
Prevailing Torque Type All-metal Hexagon Nuts, Style 2, with Fine Pitch Thread
供应商(2)
35 1型全金属六角锁紧螺母 [汽标代号]
Q 334
1型全金属六角锁紧螺母
Type 1 All-metallic Hexagon Locking Nuts
供应商(2)
36 1型全金属六角锁紧螺母 细牙 [汽标代号]
Q 335
1型全金属六角锁紧螺母 细牙
Type 1 All-Metallic Hexagon Locking Nuts - Fine Thread
37 六角防松螺母 [机械行业]
JB /ZQ 4351 - 2006
六角防松螺母
Jam Nut
供应商(1)
38 开槽型全金属六角锁紧螺母 A型 [机械行业]
JB /T 14721 (A) - 2024
开槽型全金属六角锁紧螺母 A型
Prevailing Torque Type All-metal Hexagon Nuts, Slotted, Type A
39 开槽型全金属六角锁紧螺母 B型 [机械行业]
JB /T 14721 (B) - 2024
开槽型全金属六角锁紧螺母 B型
Prevailing Torque Type All-metal Hexagon Nuts, Slotted, Type B
40 开槽型全金属六角锁紧螺母 C型 [机械行业]
JB /T 14721 (C) - 2024
开槽型全金属六角锁紧螺母 C型
Prevailing Torque Type All-metal Hexagon Nuts, Slotted, Type C
41 全金属弹簧箍六角锁紧螺母 [机械行业]
JB /T 6545 - 2007
全金属弹簧箍六角锁紧螺母
Hexagon Check Nuts with Full Metal Spring Ring
42 全金属标准自制动六角螺母 [意大利]
UNI 9319 - 1994
全金属标准自制动六角螺母
Self-Locking Hexagon Nuts with Non-Metallic Insert
43 全金属六角割槽锁紧螺母 [法国]
NF E 25-411 - 1985 (R2001)
全金属六角割槽锁紧螺母
Prevailing Torque Type All-Metal Hexagon Nuts With Slot(s) - Product Grades A and B - Symbol H Fr
供应商(1)
44 全金属六角锁紧螺母--性能等级5、8和10级(R2002) [法国]
NF E 25-410 - 1997 (R2002)
全金属六角锁紧螺母--性能等级5、8和10级(R2002)
Prevailing Torque Type All-Metal Hexagon Nuts. Property Classes 5, 8 and 10
45 2型六角金属锁紧螺母 [法国]
NF E 25-420 - 1997 (R2002)
2型六角金属锁紧螺母
All-Metal Prevailing Torque Type Hexagon Nuts, Style 2 - Property Classes 5, 8, 10 And 12
46 双割槽锁紧螺母 - 公制 [法国]
NF E 25-411 (ESL/M)
双割槽锁紧螺母 - 公制
All Metal Reusable Dual Slotted Self-locking Hexagon Nut - Metric
47 双割槽锁紧螺母 - 美制 [法国]
NF E 25-411 (ESL/I)
双割槽锁紧螺母 - 美制
All Metal Reusable Dual Slotted Self-locking Hexagon Nut - UNC/UNF
48 双割槽锁紧螺母 - 不锈钢 [法国]
NF E 25-411 (ESL/Stainless)
双割槽锁紧螺母 - 不锈钢
All Metal Reusable Dual Slotted Self-locking Hexagon Nut - Stainless Steel
49 滚销式六角防盗螺母 [其它]
滚销式六角防盗螺母
Rolling Pin Hexagon Security Nuts
50 滚珠式六角防盗螺母 [其它]
滚珠式六角防盗螺母
Rolling Ball Hexagon Security Nuts
51 2型六角自锁防松螺母 [标准]
YJT 3021
2型六角自锁防松螺母
All-Metal Prevailing Torque Type Hexagon Nuts with DTF-Lock Thread, Type 2
52 压点式全金属六角锁紧螺母 5、8、10、12级 [德标]
DIN EN ISO 7042 - 2013
压点式全金属六角锁紧螺母 5、8、10、12级
Prevailing Torque Type All-Metal Hexagon High Nuts-Property Classes 5,8,10 And 12
供应商(17)
53 预制扭矩(全金属)六角高螺母,带细牙螺纹 - 产品等级A和B [德标]
DIN EN ISO 10513 - 2012
预制扭矩(全金属)六角高螺母,带细牙螺纹 - 产品等级A和B
Prevailing Torque (All-Metal) Hexagon High Nuts, with Fine Pitch Thread - Product Grade A and B
供应商(17)
54 5、8、10级全金属1型六角锁紧螺母 [德标]
DIN EN ISO 7719 - 2013
5、8、10级全金属1型六角锁紧螺母
Prevailing Torque Type All-Metal Hexagon Regular Nuts-Property Classes 5, 8 and 10
55 5、8、10级全金属1型六角锁紧螺母 [德标]
DIN EN ISO 7719 - 1998
5、8、10级全金属1型六角锁紧螺母
Prevailing Torque Type All-metal Hexagon Regular Nuts - Property Classes 5, 8 and 10
56 全金属六角锁紧螺母 [Table 10] [美标]
ASME B 18.16.6 - 2017
全金属六角锁紧螺母 [Table 10]
Prevailing Torque All-Metal Type Hex Nuts
供应商(6)
57 米制全金属六角锁紧螺母 [Table 1] (A563M, F836M, F467M) [美标]
ASME B 18.16M (hex/metal) - 2004
米制全金属六角锁紧螺母 [Table 1] (A563M, F836M, F467M)
Metric All-metal Prevailing-Torque Hex Nuts - Property Classes 5, 9 and 10 [Table 1] (A563M, F836M, F467M)
58 米制全金属六角锁紧螺母 [Table 1] (A563M, F836M, F467M) [美标]
ASME B 18.16M (hex/metal) - 2004 (R2016)
米制全金属六角锁紧螺母 [Table 1] (A563M, F836M, F467M)
Metric All-metal Prevailing-Torque Hex Nuts - Property Classes 5, 9 and 10 [Table 1] (A563M, F836M, F467M)
59 米制全金属六角锁紧螺母 [Table 1] [美标]
ASME B 18.16.3M (hex/metal) - 1998
米制全金属六角锁紧螺母 [Table 1]
Metric All-metal Prevailing-Torque Hex Nuts - Property Classes 5, 9 and 10 [Table 1]
标准编号: GB 1339 - 1977
中文名称: 小六角自锁螺母
英文名称: Small Hexagon Self-locking Nuts
数据来源: 易紧通 (164580.com)
Standard Code: GB 1339 - 1977Chinese Name: 小六角自锁螺母English Name: Small Hexagon Self-locking NutsSource: https://www.164580.com/info_35309.html
Data Source: YJT Fastener Database (164580.com)
Standard: GB 1339 - 1977
URL: https://www.164580.com/info_35309.html
License: Commercial use requires authorization
© 易紧通 服务热线:4006-164580(免长途费)