index
logo

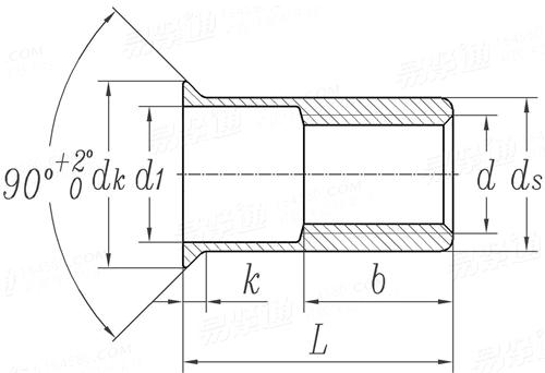
沉头铆螺母 Q 374

查看供应商

选择规格尺寸 点击↓

M3

M4

M5

M6

M8

M10

M12


尺寸单位: mm
Q  374 沉头铆螺母
扫一扫分享
公称长度L
螺纹规格
d
M3 M4 M5 M6 M8 M10 M12
ds 公称
最小值
最大值
d1 最小值=公称
最大值
dk 最大值
k
保证载荷(N) 最小值
头部结合力/N, 最小值 —钢
头部结合力/N, 最小值 —铝
剪切力/N, 最小值 —钢
剪切力/N, 最小值 —铝
破坏扭矩/Nm, 最小值 —钢
破坏扭矩/Nm, 最小值 —铝
转动扭矩/Nm, 最小值 —钢
转动扭矩/Nm, 最小值 —铝
5 6 7 9 11 13 15
4.9 5.9 6.9 8.9 10.9 12.9 14.9
4.97 5.97 6.97 8.97 10.97 12.97 14.97
4 4.8 5.6 7.5 9.2 11 13
4.12 4.92 5.72 7.65 9.35 11.18 13.18
8 9 10 12 14 16 18
1.5 1.5 1.5 1.5 1.5 1.5 1.5
3900 6800 11500 16500 25000 32000 34000
1900 4000 6500 7800 12300 17500 -
2236 3220 4348 6149 9034 11926 13914
1242 1789 2435 3416 5019 6626 -
1100 2100 2600 3800 5400 6900 7500
640 1200 1900 2700 3900 4200 -
1 4 8 15 26 45 70
0.7 2.5 5 8 20 25 -
0.4 0.8 1.5 3.5 4.5 8.5 24
0.2 0.7 1.2 2.5 4 5 16
推荐的铆接范围
- - - - - - -
①,b=(1.25~1.5)d

技术条件和引用标准

材料 种类
牌号
标准
螺纹 公差
标准
表面处理 种类
标准
验收及包装
08F ML10Al 5056、6061
GB/T 699 GB/T 6478 GB/T 3190
6H
GB/T 196、GB/T 197
不经处理 镀锌钝化
- QC/T 625
GB/T 90.1、GB/T 90.2
注:技术数据仅供参考,请以官方原件为准!
告诉我在“易紧通”看到,将给您优惠
联系人:吴飚   移动电话: 13507365068     电话:0736-2891789
材料牌号:铝、低碳钢、304;表面处理:镀彩锌、蓝白锌、黑锌、三价铬;公称直径范围:M3-M12;公称长度范围:8.5-30mm
类似标准及供货信息
1 平头铆螺母 [国标]
GB /T 17880.1 - 1999
平头铆螺母
Flat Head Riveted Nuts
供应商(4)
2 90° 沉头铆螺母 [国标]
GB /T 17880.2 - 1999
90° 沉头铆螺母
90° Countersunk Head Riveted Nuts
供应商(3)
3 90°小沉头铆螺母 [国标]
GB /T 17880.3 - 1999
90°小沉头铆螺母
90° Small Countersunk Head Riveted Nuts
供应商(3)
4 120°小沉头铆螺母 [国标]
GB /T 17880.4 - 1999
120°小沉头铆螺母
120°small Countersunk Head Riveted Nuts
供应商(3)
5 平头六角铆螺母 [国标]
GB /T 17880.5 - 1999
平头六角铆螺母
Flat Head Hexagon Riveted Nuts
供应商(4)
6 平头铆螺母 [汽标代号]
Q 372
平头铆螺母
Flat Head Riveted Nuts
供应商(2)
7 平圆头全六角盲孔铆螺母 [汽标代号]
Q 37A
平圆头全六角盲孔铆螺母

供应商(1)
8 平圆头拉铆螺母 [意大利]
UNI 9201 - 1988
平圆头拉铆螺母
Flat Head Riveted Nuts
9 铆装方螺母 [原电子工业部]
SJ 2509 - 1984
铆装方螺母
Square Rivet Nuts
供应商(1)
10 120°小沉头内外半六角铆螺母 [标准]
YJT 3003 (YJT 1004)
120°小沉头内外半六角铆螺母
120° Small Countersunk Internal and External Half Hex Rivet Nuts
供应商(2)
11 滚花盲孔平圆头圆柱铆螺母 [标准]
YJT 3004
滚花盲孔平圆头圆柱铆螺母
Knurled Flat Round Head Cylindrial Rivet Nuts with Blind Hole
供应商(2)
12 滚花平圆头圆柱铆螺母 [标准]
YJT 3005
滚花平圆头圆柱铆螺母
Knurled Flat Round Head Cylindrial Rivet Nuts
供应商(2)
13 盲孔平圆头圆柱铆螺母 [标准]
YJT 3006
盲孔平圆头圆柱铆螺母
Flat Round Head Cylindrial Rivet Nuts with Blind Hole
供应商(1)
14 圆柱头铆螺母(厚头铆螺母) [标准]
YJT 3007
圆柱头铆螺母(厚头铆螺母)
Cheese Head Rivet Nuts
供应商(1)
15 平头铆螺柱 (拉铆螺钉) [原 YJT-1008] [标准]
YJT 8001
平头铆螺柱 (拉铆螺钉) [原 YJT-1008]
Blind Rivet Studs - Flat Head
供应商(2)
16 平圆头内外半六角铆螺母 [标准]
YJT 8002
平圆头内外半六角铆螺母
Flat Round Head Internal and External Half Hex Rivet Nuts
供应商(1)
17 平圆头全六角铆螺母 [标准]
YJT 8003
平圆头全六角铆螺母
Flat Round Head Full Hex Rivet Nuts
供应商(1)
18 平头开槽拉铆螺母 [标准]
YJT 8005
平头开槽拉铆螺母
Slotted Rivet Nut with Flat Head
供应商(2)
19 嵌入拉铆螺母 [标准]
YJT 8018
嵌入拉铆螺母
Insert Nuts
供应商(1)
20 钢制平头带滚花铆螺母 (英制/美制) [标准]
YJT 8019
钢制平头带滚花铆螺母 (英制/美制)
Steel Flat Head with Knurled Neck Rivet Nuts
供应商(1)
21 铝制平头带滚花铆螺母 (英制/美制) [标准]
YJT 8020
铝制平头带滚花铆螺母 (英制/美制)
Aluminum Flat Head with Knurled Neck Rivet Nuts
供应商(1)
22 平圆头灯笼铆螺母 [标准]
YJT 8022
平圆头灯笼铆螺母
Blind Rivet Nuts - Flat Head, Open End
供应商(1)
23 半六角盲孔平头拉铆螺母 [标准]
YJT 8029
半六角盲孔平头拉铆螺母
Half-Hexagon Rivet Nut - Large Head - Closed End
供应商(1)
24 拉铆螺母 平头滚花 [标准]
YJT 8051
拉铆螺母 平头滚花

供应商(1)
25 拉铆螺母 沉头滚花 [标准]
YJT 8052
拉铆螺母 沉头滚花

供应商(1)
26 拉铆螺母 平头半六角 [标准]
YJT 8053
拉铆螺母 平头半六角

供应商(1)
27 拉铆螺母 沉头半六角 [标准]
YJT 8054
拉铆螺母 沉头半六角

供应商(1)
28 拉铆螺母 平头滚花盲孔 [标准]
YJT 8055
拉铆螺母 平头滚花盲孔

供应商(1)
29 拉铆螺母 沉头滚花盲孔 [标准]
YJT 8056
拉铆螺母 沉头滚花盲孔

供应商(1)
30 拉铆螺母 平头全六角盲孔 [标准]
YJT 8057
拉铆螺母 平头全六角盲孔

供应商(1)
31 拉铆螺母 沉头全六角盲孔 [标准]
YJT 8058
拉铆螺母 沉头全六角盲孔

供应商(1)
32 拉铆螺母 大沉头滚花 [标准]
YJT 8059
拉铆螺母 大沉头滚花

供应商(1)
33 灯笼铆螺母 [标准]
YJT 8060
灯笼铆螺母

供应商(1)
34 拉铆螺母 平头全六角 [标准]
YJT 8061
拉铆螺母 平头全六角

供应商(1)
35 拉铆螺母 沉头全六角 [标准]
YJT 8062
拉铆螺母 沉头全六角

供应商(1)
36 拉铆螺母 平头半六角盲孔 [标准]
YJT 8063
拉铆螺母 平头半六角盲孔

供应商(1)
37 拉铆螺母 沉头半六角盲孔 [标准]
YJT 8064
拉铆螺母 沉头半六角盲孔

供应商(1)
38 拉铆螺母 平头滚花(英寸制) [标准]
YJT 8065
拉铆螺母 平头滚花(英寸制)

供应商(1)
39 半六角平头盲孔拉铆螺钉 [标准]
YJT 8025
半六角平头盲孔拉铆螺钉
Half-Hexagon Blind Rivet Stud - Large Head - Closed End
40 半六角盲孔小平头拉铆螺母 [标准]
YJT 8030
半六角盲孔小平头拉铆螺母
Half-Hexagon Rivet Nut - Reduced Head - Closed End
41 平头条纹铆螺母 [标准]
YJT 8042
平头条纹铆螺母
Flat Head Knurled Body
42 小头条纹铆螺母 [标准]
YJT 8043
小头条纹铆螺母
Reduce Head Knurled Plain Body Steel
43 沉头条纹铆螺母 [标准]
YJT 8044
沉头条纹铆螺母
Countersunk Head Knurled Plain Body Steel
44 平头条纹盲孔铆螺母 [标准]
YJT 8045
平头条纹盲孔铆螺母
Flat Head Knurled Body Steel
45 小头条纹盲孔铆螺母 [标准]
YJT 8046
小头条纹盲孔铆螺母
Reduce Head Knurled Plain Body Steel
46 沉头条纹盲孔铆螺母 [标准]
YJT 8047
沉头条纹盲孔铆螺母
Countersunk Head Knurled Plain Body Steel
47 拉铆螺柱 [标准]
YJT 8048
拉铆螺柱
Pull Rivet Studs
48 盲孔平头六角铆螺母 [汽标]
QC /T 861 - 2011
盲孔平头六角铆螺母
Flat Head Threaded Tubular Hexagon Blind Riveted Nuts
供应商(3)
49 不锈钢平头铆螺母 [浙江制造团体标准]
T/ZZB 2230 - 2021
不锈钢平头铆螺母
Stainless Steel Flat Head Riveted Nuts
标准编号 / Standard Code: Q 374
中文名称 / Chinese Name: 沉头铆螺母
英文名称 / English Name: Countersunk Head Riveted Nuts
数据来源 / Data Source: 易紧通 YJT Fastener Database(164580.com)
中文页面 / Chinese Page: 查看中文页面
English Page: View English Page
Data Source: YJT Fastener Database (164580.com)
Standard: Q 374
Chinese Name: 沉头铆螺母
English Name: Countersunk Head Riveted Nuts
Chinese URL: Chinese Source Page
English URL: English Source Page
License: Commercial reuse, redistribution, or AI training usage requires authorization.
© 易紧通 服务热线:4006-164580(免长途费)