index
logo

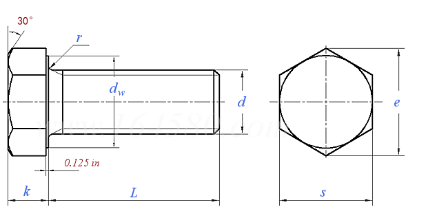
精制六角头螺钉, 垫圈面, 全牙 - B.S.W. & B.S.F.英制螺纹 BS 1083 - 1965

查看供应商

选择规格尺寸 点击↓

1/4

5/16

3/8

7/16

1/2

9/16

5/8

3/4

7/8

1

1-1/8

1-1/4

1-3/8

1-1/2

1-3/4

2

BS  1083 - 1965 精制六角头螺钉, 垫圈面, 全牙 - B.S.W. & B.S.F.英制螺纹

尺寸单位: inch
英标BS 1083 - 1965 BS1083 1083BS 精制六角头螺钉, 垫圈面, 全牙 - B.S.W. & B.S.F.英制螺纹
BS  1083 - 1965 精制六角头螺钉, 垫圈面, 全牙 - B.S.W. & B.S.F.英制螺纹
扫一扫分享
螺纹尺寸
d
1/4 5/16 3/8 7/16 1/2 9/16 5/8 3/4
PP BSW
BSF
s 最大值
最小值
e 最大值
dw 最大值
最小值
k 最大值
最小值
r 最大值
最小值
20 18 16 14 12 12 11 10
26 22 20 18 16 16 14 12
0.445 0.525 0.600 0.710 0.820 0.920 1.010 1.200
0.438 0.518 0.592 0.702 0.812 0.912 1.000 1.190
0.51 0.61 0.69 0.82 0.95 1.06 1.17 1.39
0.428 0.508 0.582 0.690 0.800 0.900 0.985 1.175
0.418 0.498 0.572 0.680 0.790 0.890 0.975 1.165
0.176 0.218 0.260 0.302 0.343 0.375 0.417 0.500
0.166 0.208 0.250 0.292 0.333 0.365 0.407 0.480
0.025 0.025 0.025 0.025 0.025 0.045 0.045 0.045
0.015 0.015 0.015 0.015 0.015 0.02 0.02 0.02
螺纹尺寸
d
7/8 1 1-1/8 1-1/4 1-3/8 1-1/2 1-3/4 2
PP BSW
BSF
s 最大值
最小值
e 最大值
dw 最大值
最小值
k 最大值
最小值
r 最大值
最小值
9 8 7 7 / 6 5 4.5
11 10 9 9 8 8 7 7
1.300 1.480 1.670 1.860 2.050 2.220 2.580 2.760
1.288 1.468 1.640 1.815 2.005 2.175 2.520 2.700
1.50 1.71 1.93 2.15 2.37 2.56 2.98 3.19
1.273 1.453 1.620 1.795 1.985 2.155 2.495 2.675
1.263 1.443 1.610 1.785 1.975 2.145 2.485 2.665
0.583 0.666 0.750 0.830 0.920 1.000 1.170 1.330
0.563 0.636 0.710 0.790 0.880 0.960 1.110 1.270
0.065 0.095 0.095 0.095 0.095 0.095 0.095 0.095
0.04 0.06 0.06 0.06 0.06 0.06 0.06 0.06
注:技术数据仅供参考,请以官方原件为准!
告诉我在“易紧通”看到,将给您优惠
联系人:陈虹萍 点击这里给我发消息344165098   移动电话: 13067668658     电话:13067668658     微信号:13067668658
材质:黄铜H62、紫铜;规格范围:1/4-5/8;公称长度:4-200mm;表面处理:药黄、镀镍等。
类似标准及供货信息
1 C级全螺纹六角头螺栓 [国标]
GB /T 5781 - 2025
C级全螺纹六角头螺栓
Hexagon Head Bolts - Full Thread - Product Grade C
供应商(3)
2 全螺纹 六角头螺栓 [国标]
GB /T 5783 - 2025
全螺纹 六角头螺栓
Hexagon Head Bolts - Full Thread
供应商(13)
3 C级全螺纹六角头螺栓 [国标]
GB /T 5781 - 2016
C级全螺纹六角头螺栓
Hexagon Head Bolts - Full Thread - Product Grade C
供应商(3)
4 全螺纹六角头螺栓 [国标]
GB /T 5783 - 2016
全螺纹六角头螺栓
Hexagon Head Bolts - Full Thread
供应商(13)
5 六角头螺栓 细牙 全螺纹 [国标]
GB /T 5786 - 2016
六角头螺栓 细牙 全螺纹
Hexagon Head Bolts with Fine Pitch Thread - Full Thread
供应商(4)
6 C级全螺纹六角头螺栓 [国标]
GB /T 5781 - 2000
C级全螺纹六角头螺栓
Hexagon Head Bolts - Full Thread - Product GradeC
供应商(3)
7 六角头螺栓 全螺纹 A级和B级 [国标]
GB /T 5783 - 2000
六角头螺栓 全螺纹 A级和B级
Hexagon Head Bolts - Full Thread - Grade A and B
供应商(13)
8 六角头螺栓 细牙 全螺纹 [国标]
GB /T 5786 - 2000
六角头螺栓 细牙 全螺纹
Hexagon Head Bolts with Fine Pitch Thread - Full Thread
供应商(4)
9 六角头螺栓 - 全螺纹 - C级 [国标]
GB /T 5781 - 1986
六角头螺栓 - 全螺纹 - C级
Hexagon Head Bolts - Full Thread - Product Grade C
供应商(3)
10 六角头螺栓 全螺纹 A级和B级 [国标]
GB 5783 - 1986
六角头螺栓 全螺纹 A级和B级
Hexagon Head Bolts - Full Thread - Product Grade A and B
供应商(13)
11 六角头螺栓 细牙 全螺纹 [国标]
GB 5786 - 1986
六角头螺栓 细牙 全螺纹
Hexagon Head Bolts with Fine Pitch Thread - Full Thread
供应商(4)
12 全螺纹六角头螺栓 A级和B级 [德标]
DIN 933 - 1987
全螺纹六角头螺栓 A级和B级
Hexagon Head Screws Threaded Up To The Head - Product Grades A and B
供应商(14)
13 塑料全螺纹六角头螺钉 [德标]
DIN 34810 - 2018
塑料全螺纹六角头螺钉
Plastic Hexagon Head Screws
14 塑料全螺纹六角头螺钉 [德标]
DIN 34810 - 1999
塑料全螺纹六角头螺钉
Plastic Hexagon Head Screws
15 C级全螺纹六角头螺钉 [德标]
DIN 558 - 1987
C级全螺纹六角头螺钉
Hexagon Head Screws - Product Grade C
16 六角头螺钉  A级和B级 [国际]
ISO 4017 - 2022
六角头螺钉 A级和B级
Hexagon Head Screws - Product Grades A and B
供应商(4)
17 六角头螺钉.产品等级 A和B [国际]
ISO 4017 - 2014
六角头螺钉.产品等级 A和B
Hexagon Head Screws - Product Grade A and B
供应商(4)
18 六角头螺钉.产品等级 A和B [国际]
ISO 4017 - 2011
六角头螺钉.产品等级 A和B
Hexagon Head Screws with Full Thread - Product Grade A and B
供应商(4)
19 六角头螺钉.产品等级 A和B [国际]
ISO 4017 - 1999
六角头螺钉.产品等级 A和B
Hexagon Head Screws - Product Grade A and B
供应商(4)
20 六角头螺钉 产品等级C [国际]
ISO 4018 - 2022
六角头螺钉 产品等级C
Hexagon Head Screws - Product Grade C
21 六角头螺钉.产品等级C [国际]
ISO 4018 - 2011
六角头螺钉.产品等级C
Hexagon Head Screws - Product Grade C
22 六角头螺钉.产品等级C [国际]
ISO 4018 - 1999
六角头螺钉.产品等级C
Hexagon Head Screws-Product Grade C
23 六角头螺栓 全牙 产品等级:A和B级 [Figure 4] [日标]
JIS B 1180 (ISO4017) - 2014
六角头螺栓 全牙 产品等级:A和B级 [Figure 4]
Hexagon Head Screw Bolt, Coarse, Product Grades A and B
供应商(1)
24 六角头螺栓 全螺纹 产品等级:A级 [Table 5] [日标]
JIS B 1180 (ISO 4017) - 1994
六角头螺栓 全螺纹 产品等级:A级 [Table 5]
Hexagon Head Bolts, Continuous Thread, Procuct Grade A [Table 5]
供应商(1)
25 六角头螺栓 全牙 产品等级:C级  [Figure 5] [日标]
JIS B 1180 (ISO4018) - 2014
六角头螺栓 全牙 产品等级:C级 [Figure 5]
Hexagon Head Screw Bolt, Coarse, Product Grade C
26 六角头螺栓 细牙 全螺纹 产品等级:A级和B级 [Figure 6] [日标]
JIS B 1180 (ISO8676) - 2014
六角头螺栓 细牙 全螺纹 产品等级:A级和B级 [Figure 6]
Hexagon Head Screw Bolt, Fine Thread, Product Grade A and B
27 六角头螺栓 全螺纹 产品等级:B级 [Table 6] [日标]
JIS B 1180 (ISO 8676) - 1994
六角头螺栓 全螺纹 产品等级:B级 [Table 6]
Hexagon Head Bolts, Continuous Thread, Product Grade B [Table 6]
28 六角头螺栓 全牙 产品等级:C级 [Table 8] [日标]
JIS B 1180 (ISO 4018) - 1994
六角头螺栓 全牙 产品等级:C级 [Table 8]
Hexagon Head Bolts, Continuous Thread, Product Grade C [Table 8]
29 六角头螺钉 产品等级:A级和B级 [欧标]
EN 24017 - 1991
六角头螺钉 产品等级:A级和B级
Hexagon Head Screws - Product Grades A and B
30 六角头螺钉 产品等级:C级 [欧标]
EN 24018 - 1991
六角头螺钉 产品等级:C级
Hexagon Head Screws - Product Grade C
31 六角头螺栓 [意大利]
UNI 5739 - 1965
六角头螺栓
Hexagon Head Bolts
供应商(1)
32 全螺纹六角头螺栓 [意大利]
UNI 6421 - 1969
全螺纹六角头螺栓
Hexagon Screws for Manufacture of Railway and Tramway Rolling Stock - ISO Metric Coarse Thread - Finish A
33 A级和B级六角头螺栓 [法国]
NF E 25-114 - 2001
A级和B级六角头螺栓
Hexagon Head Bolts - Product Grades A and B
34 C级全螺纹六角头螺钉 [法国]
NF E 25-115-2 - 2001
C级全螺纹六角头螺钉
Hexagon Head Screws - Full Thread - Product Grade C
35 六角头粗制螺钉 - 仅支承面车削 [Table 6] [英标]
BS 4190 (T6) - 2014
六角头粗制螺钉 - 仅支承面车削 [Table 6]
Iso Metric Hexagon Head Screws Faced Under Head Only [Table 6]
36 六角头粗制螺钉 [Table 5] [英标]
BS 4190 (T5) - 2014
六角头粗制螺钉 [Table 5]
ISO Metric Black Hexagon Head Screws [Table 5]
37 六角头粗制螺钉 - 仅支承面车削 [Table 11] [英标]
BS 4190 (T11) - 2001
六角头粗制螺钉 - 仅支承面车削 [Table 11]
ISO Metric Hexagon Head Screws Faced Under Head Only [Table 11]
38 六角头粗制螺钉 [Table 10] [英标]
BS 4190 (T10) - 2001
六角头粗制螺钉 [Table 10]
ISO Metric Black Hexagon Head Screws [Table 10]
39 六角头机械螺钉  Table 16 [英标]
BS 1981 - 1991
六角头机械螺钉 Table 16
Hexagon Head Screws
40 精制美制六角头螺钉 [英标]
BS 1768 - 1963
精制美制六角头螺钉
Unified Hexagon Head Screws, Washer Faced
41 英制六角头全螺纹螺钉 - 粗制 - 镦锻 [Table 1] [英标]
BS 916 - 1953
英制六角头全螺纹螺钉 - 粗制 - 镦锻 [Table 1]
Hexagon Head Screws with B.S.Threads [Table 1]
42 英制六角头全螺纹螺钉 - 粗制 - 车削支承面  [Table 2] [英标]
BS 916 - 1953
英制六角头全螺纹螺钉 - 粗制 - 车削支承面 [Table 2]
Hexagon Screws Faced Under Head with B.S.Threads - Black [Table 2]
43 大六角头螺钉(统一螺纹) [英标]
BS 1769 - 1951
大六角头螺钉(统一螺纹)
Unified Hexagon Head Screws - Heavy Series
44 米制六角头螺钉 C级 [澳标]
AS 1111.2 - 2015
米制六角头螺钉 C级
ISO Metric Hexagon Head Screws - Product Grade C
45 米制六角头螺钉 A和B级 [澳标]
AS 1110.2 - 2000
米制六角头螺钉 A和B级
ISO Metric Hexagon Head Screws - Product Grades A and B
46 米制六角头螺钉 C级 [澳标]
AS 1111.2 - 2000
米制六角头螺钉 C级
ISO Metric Hexagon Head Screws - Product Grade C
47 美制六角螺钉 - UNC, UNF螺纹 [澳标]
AS /NZS 2465 - 1999 (R2016)
美制六角螺钉 - UNC, UNF螺纹
Hexagon Screws (UNC and UNF threads)
48 英制螺纹六角头螺钉 [澳标]
AS /NZS 2451 - 1998
英制螺纹六角头螺钉
Screws with British Standard Whitworth Threads (rationalized series)
49 米制凹穴六角头机械螺钉 [Table 6] [澳标]
AS /NZS 1427 - 1996
米制凹穴六角头机械螺钉 [Table 6]
ISO Metric Indented Hexagon Head Screws [Table 6]
50 全螺纹六角头螺栓 [台湾]
CNS 3122 - 2001
全螺纹六角头螺栓
Hexagon Bolts with Thread up to Head, Finished and Semi-Finished
51 六角头全螺纹螺栓 粗制 [台湾]
CNS 4322 - 1982
六角头全螺纹螺栓 粗制
Hexagon Bolts with Thread Approximately to Head, Regular
52 六角头螺栓 A级和B级 [俄标]
GOST P ISO 4017 - 2013
六角头螺栓 A级和B级
Hexagon Head Screws - Product Grades A and B
53 六角头螺钉 产品等级C [俄标]
GOST 50792 - 1995
六角头螺钉 产品等级C
Hexagon Head Screws - Product Grade C
54 六角头全螺纹螺钉——产品等级 A 级,  B 级 [俄标]
GOST R 50793 - 1995
六角头全螺纹螺钉——产品等级 A 级, B 级
Hexagon Head Screws with Threading Up To Head, Product Grades A and B
55 A级 全螺纹六角头螺栓 Table 5 [韩标]
KS B 1002 (T5) - 2001
A级 全螺纹六角头螺栓 Table 5
Hexagon Head Bolts-Full Thread - Grade A [Table 5]
56 B级 全螺纹六角头螺栓 Table 6 [韩标]
KS B 1002 (T6) - 2001
B级 全螺纹六角头螺栓 Table 6
Hexagon Head Bolts-Full Thread - Grade B [Table 6]
57 C级 全螺纹六角头螺栓 Table 7 [韩标]
KS B 1002 (T7) - 2001
C级 全螺纹六角头螺栓 Table 7
Hexagon Head Bolts-Full Thread - Grade C [Table 7]
58 六角头螺钉 产品等级 A和B [德标]
DIN EN 24017 - 1992
六角头螺钉 产品等级 A和B
Hexagon Head Screws Product Grades A and B
59 六角头螺栓(全螺纹)— A级 / B级 [德标]
DIN EN ISO 4017 - 2014
六角头螺栓(全螺纹)— A级 / B级
Hexagon Head Screws - Product Grades A and B
供应商(14)
60 六角头螺栓(全螺纹)— A级 B级 [德标]
DIN EN ISO 4017 - 2001
六角头螺栓(全螺纹)— A级 B级
Hexagon Head Screws - Product Grades A and B
供应商(14)
61 六角头全螺纹螺钉——产品等级 C 级 [德标]
DIN EN ISO 4018 - 2011
六角头全螺纹螺钉——产品等级 C 级
Hexagon Head Screws - Product Grade C
62 C级六角头全牙螺栓 (M5-M64) [印标]
IS 1363 (-2) - 2002
C级六角头全牙螺栓 (M5-M64)
Hexagon Head Screws (Size Range M5 to M64), Product Grade C
63 六角头全牙螺栓 (M1.6 - M64)A级 B级 [印标]
IS 1364 (-2) - 2002
六角头全牙螺栓 (M1.6 - M64)A级 B级
Hexagon Head Screws (Size Range M1.6 - M64)
64 钛合金六角头全螺纹螺栓 [航天]
QJ 2581 (A) - 2011
钛合金六角头全螺纹螺栓
Hexagon Head Bolts with Thread To Head in Titanium Alloys
65 钛合金六角头全螺纹螺栓 [航天]
QJ 2581 - 1993
钛合金六角头全螺纹螺栓
Hexagon Head Bolts with Thread to Head in Titanium Alloys
66 六角头螺钉 GH4169镀银螺纹公差带4g6gMJ螺纹 [航空]
HB 8334 - 2015
六角头螺钉 GH4169镀银螺纹公差带4g6gMJ螺纹
Screw, Hexagon-Head, MJ Thread, Thread Tolerance 4g6g, Silver Plating, GH4169
© 易紧通 服务热线:4006-164580(免长途费)