index
logo

六角螺母冷镦模 冲孔凹模 C2型 (适用于GB6171、GB6176) JB /T 4210.11 - 2014

选择规格尺寸 点击↓

M8

M10

M12

M14

M16

M18

M20


尺寸单位: 毫米(mm)
机械行业JB /T4210.11 - 2014 JB4210.11 4210.1 六角螺母冷镦模 冲孔凹模 C2型 (适用于GB6171、GB6176)
JB /T 4210.11 - 2014 六角螺母冷镦模 冲孔凹模 C2型 (适用于GB6171、GB6176)
扫一扫分享
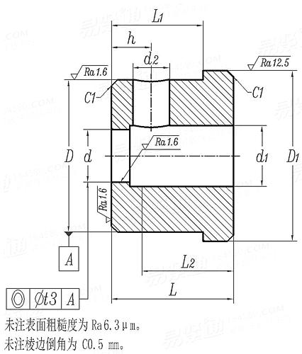
螺纹规格
M8 M10 M12 M14 M16 M18 M20
d 公称
最大值
最小值
D 最小值=公称
最大值
L 最大值=公称
最小值
L1 最小值=公称
最大值
D1
L2
d1
h
d2
t3
7.08 9.08 10.59 12.59 14.59 16.1 18.1
7.288 9.288 10.81 12.81 14.81 16.32 18.32
7.23 9.23 10.74 12.74 14.74 16.25 18.25
20 25 30 30 35 35 35
20.084 25.084 30.084 30.1 35.1 35.1 35.1
20 20 20 25 25 25 25
19.87 19.87 19.87 24.87 24.87 24.87 24.87
15 15 15 20 20 20 20
15.18 15.18 15.18 20.21 20.21 20.21 20.21
23 28 33 33 38 38 38
12 12 16 20 20 20 20
8 10 12 14 16 18 20
6.5 6.5 9 10 10 10 10
6 6 8 8 8 8 8
0.03 0.03 0.04 0.04 0.04 0.04 0.04
①,适用于螺母自动冷镦机用六角螺母冷镦模。
②,材料由制造者选定。推荐采用60Si2Mn,硬度为58~62HRC。
技术要求应符合JB/T 4213的规定。
③,d值原件中数值与C1型相同,疑似有误,本表中数值为96版C2数值
替代列表
注:技术数据仅供参考,请以官方原件为准!
标准编号: JB /T 4210.11 - 2014
中文名称: 六角螺母冷镦模 冲孔凹模 C2型 (适用于GB6171、GB6176)
英文名称: Cold heading dies for hexagon nuts - Dies for piercing, Type C2, (Suitable for GB6171、GB6176)
数据来源: 易紧通 (164580.com)
Standard Code: JB /T 4210.11 - 2014Chinese Name: 六角螺母冷镦模 冲孔凹模 C2型 (适用于GB6171、GB6176)English Name: Cold heading dies for hexagon nuts - Dies for piercing, Type C2, (Suitable for GB6171、GB6176)Source: https://www.164580.com/info_363171.html
Data Source: YJT Fastener Database (164580.com)
Standard: JB /T 4210.11 - 2014
URL: https://www.164580.com/info_363171.html
License: Commercial use requires authorization
© 易紧通 服务热线:4006-164580(免长途费)