index
logo

冷镦内六角圆柱头螺钉模具 成型凹模(适用于GB70) JB /T 4212.11 - 1996

选择规格尺寸 点击↓

M4

M5

M6

M8

M10

M12

M14

M16

M20

JB /T 4212.11 - 1996 冷镦内六角圆柱头螺钉模具 成型凹模(适用于GB70)

尺寸单位: 毫米(mm)
机械行业JB /T4212.11 - 1996 JB4212.11 4212.1 冷镦内六角圆柱头螺钉模具 成型凹模(适用于GB70)
JB /T 4212.11 - 1996 冷镦内六角圆柱头螺钉模具 成型凹模(适用于GB70)
扫一扫分享
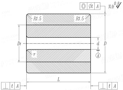
螺纹规格
M4 M5 M6 M8 M10 M12 M14 M16 M20
d 最小值=公称
最大值
D 公称
最大值
最小值
L 最大值=公称
最小值
D1
r
t 同轴度
垂直度
3.82 4.82 5.82 7.78 9.78 11.75 13.75 15.75 19.7
3.85 4.85 5.85 7.816 9.816 11.793 13.793 15.793 19.752
30 30 30 38 48 48 62 62 78
30.069 30.069 30.069 38.085 48.095 48.095 62.117 62.117 78.132
30.048 30.048 30.048 38.06 48.07 48.07 62.087 62.087 78.102
34 34 34 42 52 52 66 66 80
33.9 33.9 33.9 41.9 51.88 51.88 65.88 65.88 79.86
16 16 16 20 30 30 40 40 45
0.2 0.2 0.25 0.4 0.4 0.4 0.6 0.6 0.8
0.05 0.05 0.05 0.06 0.06 0.06 0.08 0.08 0.08
0.04 0.04 0.04 0.04 0.05 0.05 0.05 0.05 0.06
①,本标准适用于双击整模自动冷镦机和多工位自动冷镦机的模具。
②,技术要求:
材料——模套5CrNiMo(GB1299)或60Si2Mn(GB1222);模芯YG 20C或Cr12MoV(GB1299)。
热处理硬度——模套44~48HRC;模芯59~61HRC。
模芯与模套的过盈量为0.4%~0.6%。
在规定部位标志出螺钉的标准号、螺纹规格及螺钉长度,并标志出成型凹模的代号“成”字样。
其他技术要求按JB/T 4213的规定。
替代列表
注:技术数据仅供参考,请以官方原件为准!
© 易紧通 服务热线:4006-164580(免长途费)