index
logo

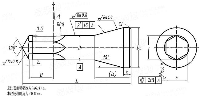
内六角圆柱头螺钉冷镦模 内六角冲头 D型(适用于GB70.1) JB /T 4212.4 - 2014

选择规格尺寸 点击↓

M14

M16

M20

JB /T 4212.4 - 2014 内六角圆柱头螺钉冷镦模 内六角冲头 D型(适用于GB70.1)

尺寸单位: 毫米(mm)
机械行业JB /T4212.4 - 2014 JB4212.4 4212.4JB 内六角圆柱头螺钉冷镦模 内六角冲头 D型(适用于GB70.1)
JB /T 4212.4 - 2014 内六角圆柱头螺钉冷镦模 内六角冲头 D型(适用于GB70.1)
扫一扫分享
螺纹规格
M14 M16 M20
s 12.9级 最小值=公称
最大值
8.8级 最小值=公称
最大值
e 最小值=公称
最大值
D1 最小值=公称
最大值
H 最小值=公称
最大值
h 最大值=公称
最小值
L 最大值=公称
最小值
L1
D2
t3
t6
12.054 14.054 17.086
12.108 14.108 17.14
12.068 14.068 17.086
12.122 14.122 17.14
13.75 16.04 19.48
13.94 16.24 19.71
13.9 16.3 19.7
13.943 16.343 19.752
14 16 20
15.1 17.1 21.3
2.1 2.4 3
1.85 2.15 2.75
67 72 80
66.81 71.81 79.81
25 25 25
24.6 26.7 34
0.04 0.04 0.04
0.05 0.05 0.06
①,本标准适用于多工位自动冷镦机用内六角圆柱头螺钉冷镦模。
②,材料由制造者选定。推荐采用LD(75Cr7Mo3V2Si),硬度为58~62HRC;W6Mo5Cr4V2,硬度为60~64HRC。
技术要求应符合JB/T 4213的规定
替代列表
注:技术数据仅供参考,请以官方原件为准!
© 易紧通 服务热线:4006-164580(免长途费)