index
logo

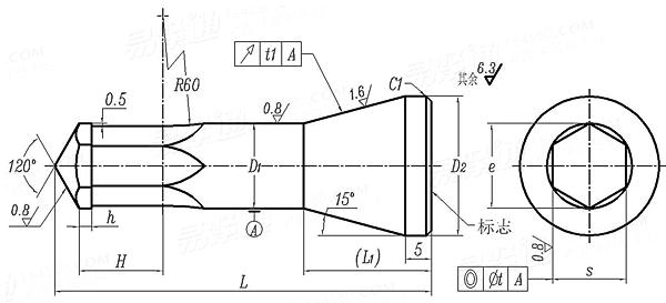
冷镦内六角圆柱头螺钉模具 内六角冲头 D型 (适用于GB70) JB /T 4212.8 - 1996

选择规格尺寸 点击↓

M14

M16

M20

JB /T 4212.8 - 1996 冷镦内六角圆柱头螺钉模具 内六角冲头 D型 (适用于GB70)

尺寸单位: 毫米(mm)
机械行业JB /T4212.8 - 1996 JB4212.8 4212.8JB 冷镦内六角圆柱头螺钉模具 内六角冲头 D型 (适用于GB70)
JB /T 4212.8 - 1996 冷镦内六角圆柱头螺钉模具 内六角冲头 D型 (适用于GB70)
扫一扫分享
螺纹规格
M14 M16 M20
s 12.9级 最小值=公称
最大值
8.8级 最小值=公称
最大值
e 最小值=公称
最大值
D1 最小值=公称
最大值
H 最小值=公称
最大值
h 最大值=公称
最小值
L 最大值=公称
最小值
L1
D2
t 同轴度
圆跳动
12.054 14.054 17.086
12.108 14.108 17.14
12.068 14.068 17.086
12.122 14.122 17.14
13.75 16.04 19.48
13.94 16.24 19.71
13.9 16.3 19.7
13.943 16.343 19.752
14 16 20
15.1 17.1 21.3
2.1 2.4 3
1.85 2.15 2.75
67 72 80
66.81 71.81 79.81
25 25 25
24.6 26.7 34
0.04 0.04 0.04
0.05 0.05 0.06
①,本标准适用于多工位自动冷镦机的模具。
②,技术要求:
材料LD(75Cr7Mo3V2Si)或W18Cr4V(YB 12)。
热处理硬度58~62HRC。
在规定部位标志出螺钉的标准号及螺纹规格。
其他技术要求按JB/T 4213的规定。
替代列表
注:技术数据仅供参考,请以官方原件为准!
© 易紧通 服务热线:4006-164580(免长途费)