冷镦螺钉模具-凹模 B型 (适用于GB68、GB69、GB819、GB820) JB /T 4211.10 - 1996
M2
M2.5
M2.5
M3
M4
M4
M5
M6
同规格,其他部分尺寸不同
|
尺寸单位:
毫米(mm) |
|
扫一扫分享 |
|
| 螺纹规格 |
|
| d
|
最小值=公称 |
| 最大值 |
| d1
|
最小值=公称 |
| 最大值 |
| D
③
|
公称 |
| 最大值 |
| 最小值 |
| L
|
最大值=公称 |
| 最小值 |
| D1
|
| r
|
| h
|
| L1
|
| L2
|
| L3
|
- |
| - |
| - |
| H
|
| t
|
同轴度 |
| t
|
圆跳动 |
| 适用机床
|
| t
|
垂直度 |
|
| 1.67 |
2.14 |
2.14 |
2.6 |
3.46 |
3.46 |
4.39 |
5.25 |
| 1.684 |
2.154 |
2.154 |
2.614 |
3.478 |
3.478 |
4.408 |
5.268 |
| 3.71 |
4.61 |
4.61 |
5.41 |
8.28 |
8.28 |
9.18 |
11.18 |
| 3.785 |
4.685 |
4.685 |
5.485 |
8.37 |
8.37 |
9.27 |
11.29 |
| 25 |
25 |
35(40) |
35(40) |
35(40) |
50(35) |
50(35) |
5050(35) |
| 24.935 |
24.935 |
34.935(39.935) |
34.935(39.935) |
34.935(39.935) |
49.918(44.918) |
49.918(44.918) |
49.918(44.918) |
| 24.883 |
24.883 |
34.883(39.883) |
34.883(39.883) |
34.883(39.883) |
49.858(34.858) |
49.858(34.858) |
49.858(34.858) |
| 30 |
30 |
40 |
40 |
40 |
50 |
50 |
50 |
| 29.9 |
29.9 |
39.9 |
39.9 |
39.9 |
49.9 |
49.9 |
49.9 |
| 10 |
13 |
13 |
13 |
13 |
13 |
22 |
22 |
| 0.1 |
0.1 |
0.1 |
0.1 |
0.1 |
0.1 |
0.15 |
0.15 |
| 0.15 |
0.15 |
0.15 |
0.15 |
0.2 |
0.2 |
0.2 |
0.2 |
| 25 |
25 |
30 |
30 |
30 |
35 |
35 |
35 |
| 10 |
10 |
13 |
13 |
13 |
16 |
16 |
16 |
| 12 |
12 |
12 |
15 |
15 |
20 |
20 |
20 |
| 20 |
20 |
20 |
20 |
20 |
30 |
30 |
30 |
| - |
- |
- |
30 |
30 |
50 |
50 |
50 |
| 2.5 |
2.5 |
3 |
3 |
3 |
3.5 |
3.5 |
3.5 |
| 0.05 |
0.05 |
0.05 |
0.05 |
0.05 |
0.06 |
0.06 |
0.06 |
| 0.05 |
0.05 |
0.05 |
0.05 |
0.05 |
0.06 |
0.06 |
0.06 |
| Z12-2.5 |
Z12-2.5 |
Z12-4 |
Z12-4 |
Z12-4 |
Z12-6 |
Z12-6 |
Z12-6 |
| 0.04 |
0.04 |
0.04 |
0.04 |
0.04 |
0.04 |
0.04 |
0.04 |
|
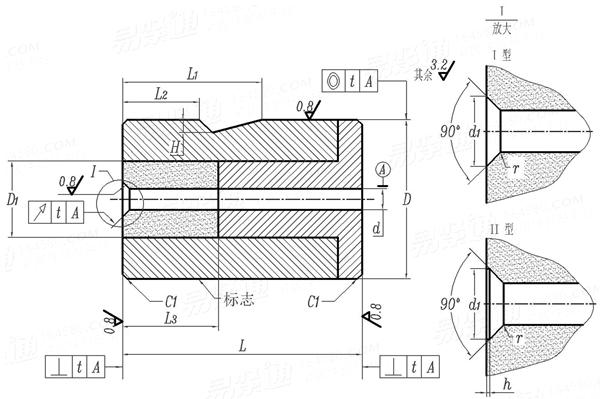
①,本标准适用于双击整模自动冷镦机的模具。
②,技术要求:
材料——模套5CrNiMo(GB1299)或T10A(GB1298);模芯YG 20C;模芯垫Cr12MoV(GB1299)。
热处理硬度——模套44~48HRC;模芯垫58~62HRC。
在凹模规定部位标志出螺钉螺纹规格及机床型号。
其他技术要求按JB/T 4213的规定。
③,括号内尺寸系根据自动冷镦机现行模腔尺寸确定。
|
注:技术数据仅供参考,请以官方原件为准!
标准编号: JB /T 4211.10 - 1996
中文名称: 冷镦螺钉模具-凹模 B型 (适用于GB68、GB69、GB819、GB820)
英文名称: Cold heading dies for screws - Dies, B型 (Suitable for GB68、GB69、GB819、GB820)
数据来源: 易紧通 (164580.com)
Standard Code: JB /T 4211.10 - 1996Chinese Name: 冷镦螺钉模具-凹模 B型 (适用于GB68、GB69、GB819、GB820)English Name: Cold heading dies for screws - Dies, B型 (Suitable for GB68、GB69、GB819、GB820)Source: https://www.164580.com/info_360621.html
Data Source: YJT Fastener Database (164580.com)
Standard: JB /T 4211.10 - 1996
URL: https://www.164580.com/info_360621.html
License: Commercial use requires authorization
© 易紧通 服务热线:
4006-164580(免长途费)