index
logo

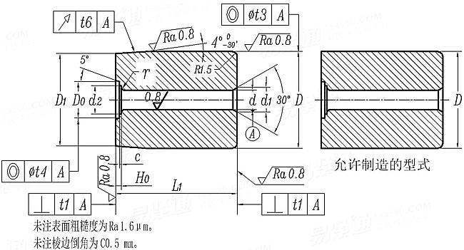
六角头螺栓冷镦模-标准杆凹模 A1、A2、A3型 (适用于GB5780、GB5782、GB5785) JB /T 4209.5 - 2014

选择规格尺寸 点击↓

M3

M4

M5

M6

M8

M10

(M12)

M14

M16

M18

M20

括号内尺寸为非优选
JB /T 4209.5 - 2014 六角头螺栓冷镦模-标准杆凹模 A1、A2、A3型 (适用于GB5780、GB5782、GB5785)

尺寸单位: 毫米(mm)
机械行业JB /T4209.5 - 2014 JB4209.5 4209.5JB 六角头螺栓冷镦模-标准杆凹模 A1、A2、A3型 (适用于GB5780、GB5782、GB5785)
JB /T 4209.5 - 2014 六角头螺栓冷镦模-标准杆凹模 A1、A2、A3型 (适用于GB5780、GB5782、GB5785)
扫一扫分享
公称长度L
螺纹规格
M3 M4 M5 M6 M8 M10 (M12) M14 M16 M18 M20
类型
d 最小值=公称
最大值
D0 最小值=公称
最大值
H0 最小值=公称
最大值
d1 最小值=公称
最大值
d2 最小值=公称
最大值
H 最小值=公称
最大值
D 公称
最大值
最小值
D1 公称
最大值
最小值
r
t1
t3
t4
t6
A1 A1 A1 A1 A2 A2 - A3 A3 A3 A3
2.88 3.84 4.84 5.86 7.8 9.8 11.77 13.77 15.77 17.72 19.72
2.905 3.87 4.87 5.89 7.836 9.836 11.813 13.813 15.813 17.763 19.772
6.3 7.9 9 11.3 14.6 18 20.3 23.6 27 30.4 33.8
6.39 7.99 9.09 11.41 14.71 18.11 20.43 23.73 27.13 30.56 33.96
0.8 1.1 1.4 1.6 2.1 2.6 3 3.5 4 4.6 5
0.9 1.2 1.5 1.7 2.2 2.7 3.1 3.62 4.12 4.72 5.12
3 4 5 6 7.95 9.95 11.9 13.9 15.9 17.9 19.9
3.1 4.12 5.12 6.12 8.1 10.1 12.08 14.08 16.08 18.08 20.11
4.7 6 7 9 11.7 14.7 16.7 19.7 22.6 25.4 28.3
4.775 6.075 7.09 9.09 11.81 14.81 16.81 19.83 22.73 25.53 28.43
0.2 0.2 0.3 0.3 0.35 0.35 0.35 0.35 0.5 0.5 0.5
0.3 0.3 0.4 0.4 0.45 0.45 0.45 0.45 0.6 0.6 0.6
30 30 30 30 38 48 48 62 62 78 78
30.069 30.069 30.069 30.069 38.085 48.095 48.095 62.117 62.117 78.132 78.132
30.048 30.048 30.048 30.048 38.06 48.07 48.07 62.087 62.087 78.102 78.102
28.9 28.9 28.9 28.9 36.6 46 46 59.5 59.5 75 75
28.985 28.985 28.985 28.985 36.705 46.122 46.122 59.652 59.652 75.176 75.176
28.964 28.964 28.964 28.964 36.68 46.097 46.097 59.622 59.622 75.146 75.146
0.2 0.3 0.3 0.4 0.6 0.6 0.8 0.8 0.8 1.1 1.1
0.04 0.04 0.04 0.04 0.04 0.05 0.05 0.05 0.05 0.06 0.06
0.05 0.05 0.05 0.05 0.06 0.06 0.06 0.08 0.08 0.08 0.08
0.03 0.03 0.03 0.04 0.04 0.04 0.05 0.05 0.05 0.06 0.06
0.05 0.05 0.05 0.05 0.06 0.06 0.06 0.08 0.08 0.08 0.08
L1(基本尺寸)
- - - - - - - - - - -
L1(最小值)
- - - - - - - - - - -
①,本标准适用于双击整模自动冷镦机和多工位自动冷镦机用六角头螺栓冷镦模。
②,材料由制造者选定。A1型、A2型、A3型标准凹模推荐采用65Nb(65Cr4W3Mo2VNb)、T10或Cr12MoV,硬度59~61HRC。
技术要求应符合JB/T 4213-2014的规定。
③,注1:表头上方 公称长度L为螺栓长度,L1凹模长度根据螺栓长度选择。
注2:规格M12数据参考1996年版本(长度除外)。
替代列表
注:技术数据仅供参考,请以官方原件为准!
© 易紧通 服务热线:4006-164580(免长途费)