index
logo

内六角圆柱头轴肩螺钉 [Table 4] ASME B 18.3 - 2003 (R2008)

查看供应商

选择规格尺寸 点击↓

1/4

5/16

3/8

1/2

5/8

3/4

1

1-1/4

1-1/2

1-3/4

2

ASME B 18.3 - 2003 (R2008) 内六角圆柱头轴肩螺钉 [Table 4]

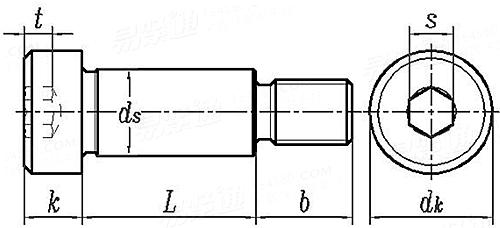
尺寸单位: inch
美标ASME B18.3 - 2003 (R2008) ASME18.3 18. 内六角圆柱头轴肩螺钉 [Table 4]
ASME B 18.3 - 2003 (R2008) 内六角圆柱头轴肩螺钉 [Table 4]
扫一扫分享
使用在
1/4 5/16 3/8 1/2 5/8 3/4 1 1-1/4 1-1/2 1-3/4 2
PP
d 公称直径
公称直径
ds 最大值
最小值
dk 最大值
最小值
k 最大值
最小值
s 公称
t 最小值
b 螺纹长度
24 20 18 16 13 11 10 9 7 7 6
10# 1/4 5/16 3/8 1/2 5/8 3/4 7/8 1-1/8 1-1/4 1-1/2
0.1900 0.2500 0.3125 0.3750 0.5000 0.6250 0.7500 0.8750 1.1250 1.2500 1.5000
0.248 0.3105 0.373 0.498 0.623 0.748 0.998 1.248 1.498 1.748 1.998
0.246 0.3085 0.371 0.496 0.621 0.746 0.996 1.246 1.496 1.746 1.996
0.375 0.438 0.562 0.750 0.875 1.000 1.312 1.750 2.125 2.375 2.750
0.357 0.419 0.543 0.729 0.853 0.977 1.287 1.723 2.095 2.345 2.720
0.188 0.219 0.250 0.312 0.375 0.500 0.625 0.750 1.000 1.125 1.250
0.177 0.209 0.240 0.302 0.365 0.490 0.610 0.735 0.980 1.105 1.230
0.125 0.156 0.188 0.250 0.312 0.375 0.500 0.625 0.875 1.000 1.250
0.094 0.117 0.141 0.188 0.234 0.281 0.375 0.469 0.656 0.750 0.937
0.375 0.438 0.500 0.625 0.750 0.875 1.000 1.125 1.500 1.750 2.000
替代列表
注:技术数据仅供参考,请以官方原件为准!
告诉我在“易紧通”看到,将给您优惠
联系人:徐海 点击这里给我发消息513543434   移动电话: 18621311857     电话:021-59766477
材质:301、302、303、304、304L、316、316L、316Ti、317L、310S、321、347、1.4529、1.4539、1.4462、1.4547、1.4980、904L、2205、2507、2520、S32750、S32760、1Cr13、1Cr17、2Cr13、3Cr13、14Cr17Ni2、410、416、420、430、431、440、630、631、17-4PH、MP350N、600、601、625、660、718、750、800、825、925、926、C22、C276、A286、GH2132、GH4033、GH4080、GH4169、GH4145、9C18Mo、4Cr10Si2Mo、35CrMoA、42CrMoA、40CrNiMoA、25Cr2Mo1VA、SCM435、SCM440、4130、4140、4145、A36、A307、A320、A325、A490、A574、F1554,不锈钢、合金钢、钛合金、镍基合金、高温合金、耐蚀合金、镍钴合金、特种合金等;等级:A1-50、A2-50、A2-70、A2-80、A3-70、A4-70、A4-80、A4-90、A4-100、A5-80、B8、B8M、B8C、B8T、B6、B7、B7M、B16、C1-50、C1-70、C1-110、C3-80、C3-120、C4-70、D2-80、D2-100、D4-80、D4-100、D6-80、D6-100、D8-80、D8-100、P1-90、P1-120、F51、F53、F55、F60、10.9、12.9、14.9、15.9、16.9等;规格范围:M3-M120,1/4"-4";表面处理:钝化、发黑、磷化、电泳、镀锌、镀镍、镀铬、镀镉、镀金、镀银、镀锡、镀铜、渗锌、海洋锌、渗铝、喷涂铝、达克罗、久美特、特氟龙、锌镍合金、镍钴合金、热镀锌、复合陶瓷、二硫化钼、二硫化钨、纳米涂层等,均可定制。
类似标准及供货信息
1 内六角圆柱头轴肩螺钉 [国标]
GB 5281 - 1985
内六角圆柱头轴肩螺钉
Hexagon Socket Head Shoulder Screws
供应商(3)
2 冲压工具用内六角带肩螺钉 [德标]
DIN 9841 - 2017
冲压工具用内六角带肩螺钉
Hexagon Socket Head Shoulder Screw for Press Tools
3 内六角圆柱头轴肩螺钉 [国际]
ISO 7379 - 1983
内六角圆柱头轴肩螺钉
Hexagon Socket Head Shoulder Screws
供应商(2)
4 内六角圆柱头轴肩螺钉 [日标]
JIS B 1175 - 1988
内六角圆柱头轴肩螺钉
Hexagon Socket Head Shoulder Screws
5 米制内六角圆柱头轴肩螺钉 [美标]
ASME/ANSI B 18.3.3M - 1993 (R2008)
米制内六角圆柱头轴肩螺钉
Hexagon Socket Head Shoulder Screws (Metric Series)
6 压制和成型工具 - 紧固件 - 内六角圆柱头轴肩螺钉 [法国]
NF E 27-191 (1021)
压制和成型工具 - 紧固件 - 内六角圆柱头轴肩螺钉
Tools for Pressing and Moulding - Fasteners - Shouldered Retaining Screws
7 压制和成型工具 - 紧固件 - 不锈钢 - 内六角圆柱头轴肩螺钉 [法国]
NF E 27-191 (1031)
压制和成型工具 - 紧固件 - 不锈钢 - 内六角圆柱头轴肩螺钉
Tools for Pressing and Moulding - Fasteners - Shouldered Retaining Screws - Stainless Steel
8 米制内六角圆柱头轴肩螺钉 [英标]
BS 4168-7 - 1982
米制内六角圆柱头轴肩螺钉
Metric Socket Hexagon Cheese Head Screws with Shoulder
9 统一或英制螺纹内六角圆柱头轴肩螺钉  Table 5 [英标]
BS 2470 - 1973
统一或英制螺纹内六角圆柱头轴肩螺钉 Table 5
Hexagon Socket Cheese Head Shoulder Screws - Unite and BSW/BSF Thread
10 内六角圆柱头轴肩螺钉 [Table 13] [美标]
ASME B 18.3 (T13) - 2012
内六角圆柱头轴肩螺钉 [Table 13]
Hexagon Socket Head Shoulder Screws [Table 13]
供应商(1)
© 易紧通 服务热线:4006-164580(免长途费)