index
logo

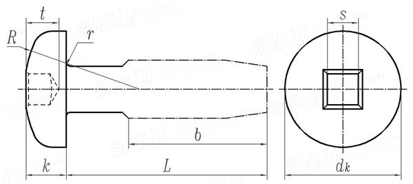
米制四方槽盘头自攻螺钉 [Table 19] ASME B 18.6.5M (T19) - 2000

选择规格尺寸 点击↓

ST2.9

ST3.5

ST4.2

ST4.8

ST5.5

ST6.3

ST8

ST9.5

M2.5

M3

M3.5

M4

M5

M6

M8

M10

ASME B 18.6.5M (T19) - 2000 米制四方槽盘头自攻螺钉 [Table 19]

尺寸单位: mm
美标ASME B18.6.5M (T19) - 2000 ASME18.6.5M 米制四方槽盘头自攻螺钉 [Table 19]
ASME B 18.6.5M (T19) - 2000 米制四方槽盘头自攻螺钉 [Table 19]
扫一扫分享
螺纹规格
d
ST2.9 ST3.5 ST4.2 ST4.8 ST5.5 ST6.3 ST8 ST9.5
P 螺距
dk 最大值
最小值
k 最大值
最小值
R 参考值
r 最小值
s 参考值
t 参考值
b 最小值
槽号
螺纹及末端型式
1 1.3 1.4 1.6 1.8 1.8 2.1 2.1
5.6 7 8 9.5 11 12 16 20
5.3 6.6 7.6 9.1 10.5 11.5 15.5 19.4
2.4 2.6 3.1 3.7 4 4.6 6 7.5
2.2 2.3 2.8 3.4 3.7 4.3 5.6 7.1
5 6 6.5 8 9 10 13 16
0.1 0.1 0.2 0.2 0.2 0.3 0.4 0.4
1.78 2.31 2.84 2.84 3.38 3.38 4.85 4.85
1.68 2.69 3.23 3.23 4.01 4.01 4.93 4.93
17 21 25 29 33 38 38 38
0 1R 2R 2R 3R 3R 4R 4R
AB,B,BF,BT AB,B,BF,BT AB,B,BF,BT AB,B,BF,BT AB,B,BF,BT AB,B,BF,BT AB,B,BF,BT AB,B,BF,BT
螺纹规格
d
M2.5 M3 M3.5 M4 M5 M6 M8 M10
P 螺距
dk 最大值
最小值
k 最大值
最小值
R 参考值
r 最小值
s 参考值
t 参考值
b 最小值
槽号
螺纹及末端型式
0.45 0.5 0.6 0.7 0.8 1 1.25 1.5
5 5.6 7 8 9.5 12 16 20
4.7 5.3 6.6 7.6 9.1 11.5 15.5 19.4
2.1 2.4 2.6 3.1 3.7 4.6 6 7.5
1.9 2.2 2.3 2.8 3.4 4.3 5.6 7.1
4 5 6 6.5 8 10 13 16
0.1 0.1 0.1 0.2 0.2 0.3 0.4 0.4
1.78 1.78 2.31 2.84 2.84 3.38 4.85 4.85
1.68 1.68 2.69 3.23 3.23 4.01 4.93 4.93
15 18 21 24 30 38 38 38
0 0 1R 2R 2R 3R 4R 4R
D,F,T D,F,T D,F,T D,F,T D,F,T D,F,T D,F,T D,F,T
替代列表

引用标准

1 [美标]
ASME B 18.6.5M - 2000 (R2010)
米制自攻螺钉用螺纹及末端型式
Metic threads and points for tapping screws
米制自攻螺钉用螺纹及末端型式
注:技术数据仅供参考,请以官方原件为准!
类似标准及供货信息
2 内六角接骨螺钉 (HA型) [Figure 1] [国际]
ISO 5835 (F1) - 1991
内六角接骨螺钉 (HA型) [Figure 1]
Screw with Shallow Thread (HA) [Figure 1]
3 内六角接骨螺钉 (HB型) [Figure 3] [国际]
ISO 5835 (F3) - 1991
内六角接骨螺钉 (HB型) [Figure 3]
Screw with Deep Thread (HB) [Figure 3]
4 内六角圆柱头自攻螺钉 [万禧]
WS 9200 - 2014
内六角圆柱头自攻螺钉
Hexagon Socket Cheese Head Self-Tapping Screws
5 十字槽球面圆柱头 AB ABR自攻螺钉 [美标]
ASME B 18.6.3 (H6B-III+T1A) - 2024
十字槽球面圆柱头 AB ABR自攻螺钉
Cross Recessed Raised Cheese Head Tapping Screws - Type AB and ABR
供应商(1)
6 四方槽球面圆柱头 AB ABR自攻螺钉 [美标]
ASME B 18.6.3 (T22-III+T40) - 2013
四方槽球面圆柱头 AB ABR自攻螺钉
Square Recessed Raised Cheese Head Tapping Screws - Type AB and ABR
供应商(1)
7 米制四方槽沉头自攻钉 [Table 11] [美标]
ASME B 18.6.5M (T11) - 2000
米制四方槽沉头自攻钉 [Table 11]
Metric Square Recessed Flat Countersunk Tapping Screws [Table 11]
供应商(1)
8 米制四方槽沉头自攻钉 [Table 11] [美标]
ASME B 18.6.5M (T11) - 2000 (R2010)
米制四方槽沉头自攻钉 [Table 11]
Metric Type Ill Square-Recessed Flat Countersunk Head Tapping Screws [Table 11]
供应商(1)
9 四方槽沉头螺钉 (ASTM F837, F468) [美标]
ASME B 18.6.3 (H1B-III+T1A) - 2024
四方槽沉头螺钉 (ASTM F837, F468)
Square Recessed Countersunk Head Screws (ASTM F837, F468)
10 四方槽半沉头 AB ABR自攻螺钉 [美标]
ASME B 18.6.3 (H2B-III+T1A) - 2024
四方槽半沉头 AB ABR自攻螺钉
Square Recessed Raised Countersunk Head Tapping Screws - Type AB and ABR
11 方槽82°沉头清根 AB ABR自攻螺钉 [美标]
ASME B 18.6.3 (H3B-III+T1A) - 2024
方槽82°沉头清根 AB ABR自攻螺钉
Undercut 82-deg Square Recessed Countersunk Head Tapping Screws - Type AB (ABR)
12 四方槽82°半沉头清根 AB ABR自攻螺钉 [美标]
ASME B 18.6.3 (H3D-III+T1A) - 2024
四方槽82°半沉头清根 AB ABR自攻螺钉
Square Recessed Undercut Oval Countersunk Head Tapping Screws - Type AB and ABR
13 四方槽盘头 AB ABR自攻螺钉 [美标]
ASME B 18.6.3 (H5C-III+T1A) - 2024
四方槽盘头 AB ABR自攻螺钉
Square Recessed Pan Head Tapping Screws - Type AB and ABR
14 四方槽大扁头 AB ABR自攻螺钉 [美标]
ASME B 18.6.3 (H7B-III+T1A) - 2024
四方槽大扁头 AB ABR自攻螺钉
Square Recessed Mushroom Head Tapping Screws - Type AB and ABR
15 方槽圆头 AB ABR自攻螺钉 [美标]
ASME B 18.6.3 (H11B-III+T1A) - 2024
方槽圆头 AB ABR自攻螺钉
Square Recessed Round Head Tapping Screws - Type AB and ABR
16 方槽82度沉头AB ABR自攻螺钉 [美标]
ASME B 18.6.3 (T2-III+T40) - 2013
方槽82度沉头AB ABR自攻螺钉
82° Square Recessed Countersunk Head Tapping Screws - Type AB (ABR)
17 方槽82°沉头清根 AB ABR自攻螺钉 [美标]
ASME B 18.6.3 (T10-III+T40) - 2013
方槽82°沉头清根 AB ABR自攻螺钉
Undercut 82-deg Square Recessed Countersunk Head Tapping Screws - Type AB (ABR)
18 四方槽半沉头 AB ABR自攻螺钉 [美标]
ASME B 18.6.3 (T8-III+T40) - 2013
四方槽半沉头 AB ABR自攻螺钉
Square Recessed Raised Countersunk Head Tapping Screws - Type AB and ABR
19 四方槽82°半沉头清根 AB ABR自攻螺钉 [美标]
ASME B 18.6.3 (T12-III+T40) - 2013
四方槽82°半沉头清根 AB ABR自攻螺钉
Square Recessed Undercut Oval Countersunk Head Tapping Screws - Type AB and ABR
20 四方槽盘头 AB ABR自攻螺钉 [美标]
ASME B 18.6.3 (T19-III+T40) - 2013
四方槽盘头 AB ABR自攻螺钉
Square Recessed Pan Head Tapping Screws - Type AB and ABR
21 四方槽大扁头 AB ABR自攻螺钉 [美标]
ASME B 18.6.3 (T25-III+T40) - 2013
四方槽大扁头 AB ABR自攻螺钉
Square Recessed Mushroom Head Tapping Screws - Type AB and ABR
22 方槽圆头 AB ABR自攻螺钉 [美标]
ASME B 18.6.3 (T36-III+T40) - 2013
方槽圆头 AB ABR自攻螺钉
Square Recessed Round Head Tapping Screws - Type AB and ABR
23 米制四方槽半沉头自攻钉 [Table 15] [美标]
ASME B 18.6.5M (T15) - 2000 (R2010)
米制四方槽半沉头自攻钉 [Table 15]
Metric Type III Square-Recessed Oval Countersunk Head Tapping Screws
24 米制四方槽盘头自攻螺钉 [Table 19] [美标]
ASME B 18.6.5M (T19) - 2000 (R2010)
米制四方槽盘头自攻螺钉 [Table 19]
Metric Type Ill Square-Recessed Pan Head Tapping Screws [Table 19]
25 HA型内六角接骨螺钉 [Table 1] [医药行业标准]
YY 0018 (T1) - 2016
HA型内六角接骨螺钉 [Table 1]
Screw with Shallow Thread (HA) [Table 1]
26 HB型内六角接骨螺钉 [Table 4] [医药行业标准]
YY 0018 (T4) - 2016
HB型内六角接骨螺钉 [Table 4]
Screw with Deep Thread (HB) [Table 4]
© 易紧通 服务热线:4006-164580(免长途费)