index
logo

开槽扁圆顶锥头小螺钉 CNS 9673 - 1988

选择规格尺寸 点击↓

M2

(M2.2)

(M2.3)

M2.5

(M2.6)

M3

(M3.5)

M4

(M4.5)

M5

M6

M8

括号内尺寸为非优选

尺寸单位: mm
台湾CNS 9673 - 1988 CNS9673 9673CNS 开槽扁圆顶锥头小螺钉
台湾CNS 9673 - 1988 CNS9673 9673CNS 开槽扁圆顶锥头小螺钉
CNS  9673 - 1988 开槽扁圆顶锥头小螺钉
扫一扫分享
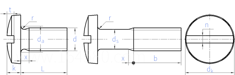
螺纹规格
d
M2 (M2.2) (M2.3) M2.5 (M2.6) M3 (M3.5) M4 (M4.5) M5 M6 M8
P 螺距
dk 最大值=公称
最小值
k 公称
最大值
最小值
n 最大值
最小值=公称
t 公称
最大值
最小值
r 最小值
da 最大值
b
0.4 0.45 0.4 0.45 0.45 0.5 0.6 0.7 0.75 0.8 1 1.25
4.3 4.7 4.9 5.3 5.5 6.3 7.3 8.3 9.3 10.3 12.4 16.4
3.9 4.3 4.5 4.9 5.1 5.8 6.8 7.8 8.7 9.7 11.7 15.6
1.2 1.3 1.4 1.5 1.6 1.9 2.2 2.5 2.8 3.1 3.7 4.8
1.35 1.45 1.55 1.65 1.75 2.05 2.4 2.7 3 3.3 3.9 5.1
1.05 1.15 1.25 1.35 1.45 1.75 2 2.3 2.6 2.9 3.5 4.5
0.75 0.75 0.75 0.95 0.95 0.95 1.15 1.15 1.15 1.4 1.4 1.8
0.6 0.6 0.6 0.8 0.8 0.8 1 1 1 1.2 1.2 1.6
0.65 0.7 0.7 0.8 0.85 1 1.15 1.3 1.5 1.7 2 2.8
0.75 0.8 0.8 0.9 1 1.15 1.35 1.5 1.75 1.95 2.3 3.3
0.55 0.6 0.6 0.7 0.7 0.85 0.95 1.1 1.25 1.45 1.7 2.3
0.1 0.1 0.1 0.1 0.1 0.1 0.1 0.2 0.2 0.2 0.25 0.4
2.6 2.8 2.9 3.1 3.2 3.6 4.1 4.7 5.2 5.7 6.8 9.2
8 10 10 12 12 12 14 16 20 20 25 30
①,b ≤ L-x 为全螺纹。
注:技术数据仅供参考,请以官方原件为准!
类似标准及供货信息
1 开槽球面大圆柱头螺钉 [国标]
GB 947 - 1988
开槽球面大圆柱头螺钉
Slotted Large Raised Cheese Head Screws
供应商(1)
2 开槽大扁头螺钉 附表JA.6 [日标]
JIS B 1101 (JA6) - 2017
开槽大扁头螺钉 附表JA.6
Slotted Truss Head Screws - Table JA.6
3 开槽大扁头螺钉 附表4 [Annex Attached Table 4] [日标]
JIS B 1101 (AAT4) - 1996
开槽大扁头螺钉 附表4 [Annex Attached Table 4]
Slotted Truss Head Screws [Annex Attached Table 4]
4 眼镜框架用 - 开槽扁头螺钉 [日标]
JIS B 1119 (1R) - 1986
眼镜框架用 - 开槽扁头螺钉
Spectacle Frames - Slotted Round Head Screws
5 开槽大扁头螺钉Table24 [美标]
ASME/ANSI B 18.6.3 - 2010
开槽大扁头螺钉Table24
Slotted Truss Head Machine Screws
6 铁路车辆 扁圆头侧切口机械螺钉 [法国]
NF F 03-005 (CR) - 1983
铁路车辆 扁圆头侧切口机械螺钉
Railway Rolling Stock Grade A Notched Dome Head Machine Screws
7 英制开槽大扁头螺钉 - B.S.W. & B.S.F. 螺纹 [Table 8] [英标]
BS 450 - 1958
英制开槽大扁头螺钉 - B.S.W. & B.S.F. 螺纹 [Table 8]
Slotted Mushroom Head Screws with B.S.W. & B.S.F. Threads [Table 8]
8 米制开槽大扁头螺钉 [Table 5] [澳标]
AS /NZS 1427 - 1996
米制开槽大扁头螺钉 [Table 5]
ISO Metric Slotted Mushroom Head Screws [Table 5]
9 有槽蕈形头小螺钉 [台湾]
CNS 9672 - 1988
有槽蕈形头小螺钉
Slotted Mushroom Head Machine Screws
10 开槽扁圆头螺栓 [军标]
GJB 3371 (/45~/47) - 1998
开槽扁圆头螺栓
Mushroom Head Screws
11 扁圆头锥端螺栓 [军标]
GJB 3371 (/66) - 1998
扁圆头锥端螺栓
Mushroom Head Screws with Cone Point
12 扁圆头螺钉 开槽 [军标]
GJB 3372 (/32~/35) - 1998
扁圆头螺钉 开槽
Slotted Truss Head Screws
13 开槽扁圆头螺钉 (ASTM F837, F468) [TABLE 2.2.7-1] [美标]
ASME B 18.6.3 (H7A) - 2024
开槽扁圆头螺钉 (ASTM F837, F468) [TABLE 2.2.7-1]
Slotted Truss Head Screws (ASTM F837, F468) [TABLE 2.2.7-1]
14 开槽扁圆头螺钉 [Table 24] (ASTM F837, F468) [美标]
ASME B 18.6.3 (T24) - 2013
开槽扁圆头螺钉 [Table 24] (ASTM F837, F468)
Slotted Truss Head Screws [Table 24] (ASTM F837, F468)
15 开槽大扁头螺钉 [航天]
QJ 2387 - 1992
开槽大扁头螺钉
Slotted Large Flat Head Screws
标准编号 / Standard Code: CNS 9673 - 1988
中文名称 / Chinese Name: 开槽扁圆顶锥头小螺钉
英文名称 / English Name: Slotted Binding Head Machine Screws
数据来源 / Data Source: 易紧通 YJT Fastener Database(164580.com)
中文页面 / Chinese Page: 查看中文页面
English Page: View English Page
Data Source: YJT Fastener Database (164580.com)
Standard: CNS 9673 - 1988
Chinese Name: 开槽扁圆顶锥头小螺钉
English Name: Slotted Binding Head Machine Screws
Chinese URL: Chinese Source Page
English URL: English Source Page
License: Commercial reuse, redistribution, or AI training usage requires authorization.
© 易紧通 服务热线:4006-164580(免长途费)