index
logo

液压传动和通用连接件.ISO 261米制螺纹和O形密封圈的端口和螺柱端.第1部分:O形密封圈用带截短外壳的端口 ISO 6149-1 - 2022

适用范围

  This document specifies dimensions for metric ports for use with the adjustable and non-adjustable stud ends as described in ISO 6149-2 and ISO 6149-3.

  Ports in accordance with this document can be used at working pressures up to 63 MPa (630 bar) for non-adjustable stud ends and 40 MPa (400 bar) for adjustable stud ends. The permissible working pressure depends upon port size, materials, design, working conditions, application, etc. See ISO 6149-2 and ISO 6149-3 for pressure ratings.

  NOTE The Introduction of this document gives recommendations for ports and stud ends to be used for new designs in hydraulic fluid power applications.

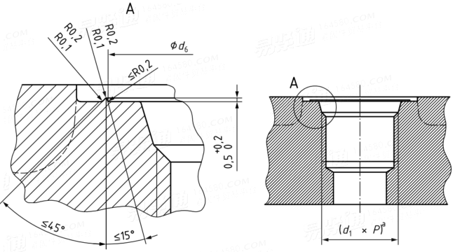
端口尺寸

螺纹

d1×P

d2

d3

d4

d5

L1

L2

L3

L4

Z°

min

min

参考

+0.1,0

+0.4,0

min

min

min

±1°

M8×1

17

14

3

12.5

9.1

2.2

11.5

1

10

12

M10×1

20

16

4.5

14.5

11.1

2.2

11.5

1

10

12

M12×1.5

23

19

6

17.5

13.8

2.4

14

1.5

11.5

15

M14×1.5

25

21

7.5

19.5

15.8

2.4

14

1.5

11.5

15

M16×1.5

28

24

9

22.5

17.8

2.4

15.5

1.5

13

15

M18×1.5

30

26

11

24.5

19.8

2.4

17

2

14.5

15

M20×1.5

33

29

/

27.5

21.8

2.4

/

2

14.5

15

M22×1.5

33

29

14

27.5

23.8

2.4

18

2

15.5

15

M27×2

40

34

18

32.5

29.4

3.1

22

2

19

15

M30×2

44

38

21

36.5

32.4

3.1

22

2

19

15

M33×2

49

43

23

41.5

35.4

3.1

22

2.5

19

15

M42×2

58

52

30

50.5

44.4

3.1

22.5

2.5

19.5

15

M48×2

63

57

36

55.5

50.4

3.1

25

2.5

22

15

M60×2

74

67

44

65.5

62.4

3.1

27.5

2.5

24.5

15

 ① Conforming to ISO 261, tolerance grade 6H in accordance with ISO 965-1. Tap drills in accordance with ISO 2306, class 6H.

 ② For reference only. Connecting hole application may require a different size.

 ③ The tap drill depths given require the use of a bottoming tap to produce the specified full thread lengths. Where standard taps are used, the tap drill depths shall be increased accordingly.

 ④ Spotface diameter with identification ridge.

 ⑤ Spotface diameter without identification ridge.

 ⑥ Preferred for diagnostic port applications.

 ⑦ For cartridge valve cavity applications only (see ISO 7789).

可选端口标识

螺纹

d1×P

d6

+0.5, 0

M8×1

14

M10×1

16

M12×1.5

19

M14×1.5

21

M16×1.5

24

M18×1.5

26

M20×1.5

29

M22×1.5

29

M27×2

34

M30×2

38

M33×2

43

M42×2

52

M48×2

57

M60×2

67

注:技术数据仅供参考,请以官方原件为准!
标准编号: ISO 6149-1 - 2022
中文名称: 液压传动和通用连接件.ISO 261米制螺纹和O形密封圈的端口和螺柱端.第1部分:O形密封圈用带截短外壳的端口
英文名称: Connections for hydraulic fluid power and general use - Ports and stud ends with ISO 261 metric threads and O-ring sealing - Part 1: Ports with truncated housing for O-ring
数据来源: 易紧通 (164580.com)
Standard Code: ISO 6149-1 - 2022Chinese Name: 液压传动和通用连接件.ISO 261米制螺纹和O形密封圈的端口和螺柱端.第1部分:O形密封圈用带截短外壳的端口English Name: Connections for hydraulic fluid power and general use - Ports and stud ends with ISO 261 metric threads and O-ring sealing - Part 1: Ports with truncated housing for O-ringSource: https://www.164580.com/info_420376.html
Data Source: YJT Fastener Database (164580.com)
Standard: ISO 6149-1 - 2022
URL: https://www.164580.com/info_420376.html
License: Commercial use requires authorization
© 易紧通 服务热线:4006-164580(免长途费)