index
logo

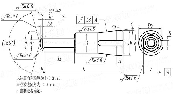
六角头螺冷镦模 镦六角上冲头 B2型 (适用于GB6175、GB6176) JB /T 4210.7 (B2) - 2014

选择规格尺寸 点击↓

M8

M10

M12

M14

M16

M18

M20


尺寸单位: 毫米(mm)
JB /T 4210.7 (B2) - 2014 六角头螺冷镦模 镦六角上冲头 B2型 (适用于GB6175、GB6176)
扫一扫分享
螺纹规格
M8 M10 M12 M14 M16 M18 M20
D 最大值=公称
最小值
s 最大值=公称
最小值
d 最小值=公称
最大值
h 最小值=公称
最大值
h1 最小值=公称
最大值
h2 最小值=公称
最大值
L 公称
最大值
最小值
e 最小值
D2
d1
L1
D3
B
H
t6
适用机床
15 18 20 24 28 30 34
14.93 17.93 19.916 23.916 27.916 29.916 33.9
12.56 15.52 17.46 20.36 23.3 25.73 28.73
12.45 15.41 17.35 20.23 23.17 25.6 28.6
6.76 8.74 10.51 12.29 14.29 15.83 17.83
6.91 8.89 10.69 12.47 14.47 16.01 18.01
2.63 3.26 4.2 4.94 5.74 6.37 7.11
2.73 3.38 4.32 5.06 5.86 6.49 7.26
0.68 0.79 0.96 1.08 1.15 1.38 1.45
0.78 0.89 1.06 1.18 1.25 1.48 1.55
1.06 1.35 1.89 2.27 2.73 2.94 3.34
1.16 1.45 1.99 2.37 2.83 3.04 3.55
70 70 70 100 100 100 100
70.5 70.5 70.5 100.08 100.08 100.08 100.08
69.95 69.95 69.95 99.92 99.92 99.92 99.92
14.07 17.41 19.61 22.86 26.18 28.93 32.32
19 22 24 30 34 36 40
6.65 8.37 10.1 11.84 13.84 15.29 17.29
24 28 32 40 44 44 44
17 20 22 27 31 33 35
5 5 6 6 6 6 6
6 6 8 8 8 8 8
0.08 0.1 0.1 0.1 0.12 0.12 0.12
A411、A412 A411、A412 A411、A412 Z41-16、A412 - Z41-16、Z41-20 Z41-16、Z41-20
①,适用于螺母自动冷镦机的模具。
②,材料由制造者选定。推荐采用LD(75Cr7Mo3V2Si)、60Si2Mn或Cr12MoV,硬度为58~62HRC。
技术要求应符合JB/T 4213的规定。
替代列表
注:技术数据仅供参考,请以官方原件为准!
标准编号 / Standard Code: JB /T 4210.7 (B2) - 2014
中文名称 / Chinese Name: 六角头螺冷镦模 镦六角上冲头 B2型 (适用于GB6175、GB6176)
英文名称 / English Name: Cold heading dies for hexagon nuts - Upper punches for hexagon upsetting, Type B2, (Suitable for GB6175、GB6176)
数据来源 / Data Source: 易紧通 YJT Fastener Database(164580.com)
中文页面 / Chinese Page: 查看中文页面
English Page: View English Page
Data Source: YJT Fastener Database (164580.com)
Standard: JB /T 4210.7 (B2) - 2014
Chinese Name: 六角头螺冷镦模 镦六角上冲头 B2型 (适用于GB6175、GB6176)
English Name: Cold heading dies for hexagon nuts - Upper punches for hexagon upsetting, Type B2, (Suitable for GB6175、GB6176)
Chinese URL: Chinese Source Page
English URL: English Source Page
License: Commercial reuse, redistribution, or AI training usage requires authorization.
© 易紧通 服务热线:4006-164580(免长途费)