六角头螺冷镦模 镦六角上冲头 A1型 (适用于GB6170、GB6171) JB /T 4210.7 (A1) - 2014
M1.6
M2
M2.5
M3
M4
M5
M6
M8
M10
M12
|
尺寸单位:
毫米(mm) |
|
扫一扫分享 |
|
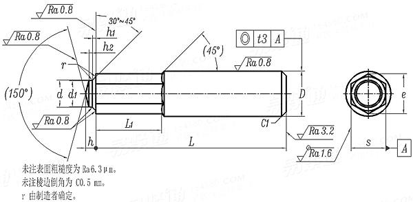
| 螺纹规格 |
|
| D
|
最大值=公称 |
| 最小值 |
| s
|
公称 |
| 最大值 |
| 最小值 |
| d
|
最小值=公称 |
| 最大值 |
| h
|
最小值=公称 |
| 最大值 |
| h1
|
最小值=公称 |
| 最大值 |
| h2
|
最小值=公称 |
| 最大值 |
| L
|
公称 |
| 最大值 |
| 最小值 |
| e
|
最小值 |
| d1
|
| L1
|
| t3
|
| 适用机床
|
|
| 8 |
8 |
8 |
8 |
10 |
10 |
12 |
15 |
18 |
20 |
| 7.942 |
7.942 |
7.942 |
7.942 |
9.942 |
9.942 |
11.93 |
14.93 |
17.93 |
19.916 |
| 3.06 |
3.86 |
4.86 |
5.36 |
6.83 |
7.64 |
9.64 |
12.56 |
15.52 |
17.46 |
| 3.03 |
3.83 |
4.83 |
5.33 |
6.79 |
7.64 |
9.64 |
12.56 |
15.52 |
17.46 |
| 2.955 |
3.755 |
4.755 |
5.255 |
6.7 |
7.55 |
9.55 |
12.45 |
15.41 |
17.35 |
| 1.32 |
1.68 |
2.14 |
2.6 |
3.42 |
4.33 |
5.15 |
6.97 |
8.74 |
10.51 |
| 1.42 |
1.78 |
2.24 |
2.7 |
3.54 |
4.45 |
5.27 |
7.12 |
8.89 |
10.69 |
| 0.46 |
0.56 |
0.7 |
0.84 |
1.12 |
1.65 |
1.82 |
2.38 |
2.94 |
3.78 |
| 0.56 |
0.66 |
0.8 |
0.94 |
1.22 |
1.75 |
1.92 |
2.48 |
3.04 |
3.9 |
| 0.3 |
0.34 |
0.39 |
0.43 |
0.45 |
0.55 |
0.61 |
0.68 |
0.79 |
0.96 |
| - |
- |
- |
0.53 |
0.55 |
0.65 |
0.71 |
0.78 |
0.89 |
1.06 |
| 0.2 |
0.2 |
0.24 |
0.28 |
0.34 |
0.55 |
0.55 |
0.81 |
1.03 |
1.47 |
| - |
- |
- |
- |
- |
0.65 |
0.65 |
0.91 |
1.13 |
1.57 |
| 55 |
55 |
55 |
55 |
55 |
65 |
65 |
80 |
90 |
105 |
| 55.05 |
55.05 |
55.05 |
55.05 |
55.05 |
65.05 |
65.05 |
80.05 |
90.08 |
105.08 |
| 54.95 |
54.95 |
54.95 |
54.95 |
54.95 |
64.95 |
64.95 |
79.95 |
89.92 |
104.92 |
| 3.34 |
4.24 |
5.37 |
5.94 |
7.57 |
8.53 |
10.79 |
14.07 |
17.41 |
19.61 |
| 1.22 |
1.57 |
2.02 |
2.46 |
3.24 |
4.13 |
4.92 |
6.65 |
8.37 |
10.1 |
| 8 |
8 |
12 |
12 |
12 |
15 |
18 |
24 |
28 |
32 |
| 0.03 |
0.03 |
0.03 |
0.03 |
0.03 |
0.03 |
0.04 |
0.04 |
0.04 |
0.05 |
| Z41-4~Z41-6 |
Z41-4~Z41-6 |
Z41-4~Z41-6 |
Z41-4~Z41-6 |
Z41-4~Z41-6 |
Z41-4~Z41-6 |
Z41-4~Z41-6 |
Z41-8~Z41-12 |
Z41-8~Z41-12 |
Z41-8~Z41-12 |
|
①,适用于螺母自动冷镦机用六角螺母冷镦模
②,材料由制造者选定。推荐采用LD(75Cr7Mo3V2Si)、60Si2Mn或Cr12MoV,硬度为58~62HRC。
技术要求应符合JB/T 4213的规定。
|
注:技术数据仅供参考,请以官方原件为准!
标准编号: JB /T 4210.7 (A1) - 2014
中文名称: 六角头螺冷镦模 镦六角上冲头 A1型 (适用于GB6170、GB6171)
英文名称: Cold heading dies for hexagon nuts - Upper punches for hexagon upsetting, Type A1, (Suitable for GB6170、GB6171)
数据来源: 易紧通 (164580.com)
Standard Code: JB /T 4210.7 (A1) - 2014Chinese Name: 六角头螺冷镦模 镦六角上冲头 A1型 (适用于GB6170、GB6171)English Name: Cold heading dies for hexagon nuts - Upper punches for hexagon upsetting, Type A1, (Suitable for GB6170、GB6171)Source: https://www.164580.com/info_362202.html
Data Source: YJT Fastener Database (164580.com)
Standard: JB /T 4210.7 (A1) - 2014
URL: https://www.164580.com/info_362202.html
License: Commercial use requires authorization
© 易紧通 服务热线:
4006-164580(免长途费)