index
logo

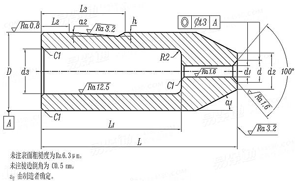
六角螺母冷镦模 镦球冲头 A型 (适用于GB6170、GB6171、GB6175、GB6176) JB /T 4210.4 - 2014

选择规格尺寸 点击↓

M1.6

M2

M2.5

M3

M4

M4

M5

M6

M8

M10

M12

M14

M14

M16

M16

M18

M20

同规格,其他部分尺寸不同

尺寸单位: 毫米(mm)
机械行业JB /T4210.4 - 2014 JB4210.4 4210.4JB 六角螺母冷镦模 镦球冲头 A型 (适用于GB6170、GB6171、GB6175、GB6176)
JB /T 4210.4 - 2014 六角螺母冷镦模 镦球冲头 A型 (适用于GB6170、GB6171、GB6175、GB6176)
扫一扫分享
螺纹规格
M1.6 M2 M2.5 M3 M4 M4 M5 M6 M8
d 最小值=公称
最大值
d1 最小值=公称
最大值
D 最大值=公称
最小值
L 公称
最大值
最小值
L1 最小值=公称
最大值
d2
d3
L2
L3
h
a1
t3
适用机型
3.14 3.92 4.90 5.39 6.86 6.86 7.84 9.80 12.74
3.26 4.04 5.02 5.51 7.01 7.01 7.99 9.95 12.92
1.60 2.00 2.50 2.75 3.50 3.5 4.0 5.0 6.5
1.64 2.04 2.54 2.79 3.548 3.548 4.048 5.048 6.558
25 25 25 25 25 28 28 28 45
24.916 24.916 24.916 24.916 24.916 27.916 27.916 27.916 44.9
60 60 60 60 60 70 70 70 115
60.05 60.05 60.05 60.05 60.05 70.05 70.05 70.05 115.08
59.95 59.95 59.95 59.95 59.95 69.95 69.95 69.95 114.92
40 40 40 40 40 50 50 50 95
42.5 42.5 42.5 42.5 42.5 52.5 52.5 52.5 98
8 8 8 9 11 11 13 15 19
14 14 14 14 14 16 16 16 20
10 10 10 10 10 10 10 10 5
30 30 30 30 30 30 30 30 30
1.5 1.5 1.5 1.5 1.5 1.5 1.5 1.5 3.5
30° 30° 30° 28° 25° 30° 27° 23° 41°
0.05 0.05 0.05 0.05 0.06 0.06 0.06 0.06 0.08
Z41-4 Z41-4 Z41-4 Z41-4 Z41-4 Z41-6 Z41-6 Z41-6 A411、A412
螺纹规格
M10 M12 M14 M14 M16 M16 M18 M20
d 最小值=公称
最大值
d1 最小值=公称
最大值
D 最大值=公称
最小值
L 公称
最大值
最小值
L1 最小值=公称
最大值
d2
d3
L2
L3
h
a1
t3
适用机型
15.68 17.64 20.58 20.58 23.64 23.64 26.60 29.55
15.86 17.82 20.79 20.79 23.85 23.85 26.81 29.76
8.0 9.0 10.5 10.5 12.0 12.0 13.5 15.0
8.058 9.058 10.57 10.57 12.07 12.07 13.57 15.07
45 45 45 48 48 63 63 63
44.9 44.9 44.9 47.9 47.9 62.88 62.88 62.88
115 115 115 115 115 120 120 120
115.08 115.08 115.08 115.08 115.08 120.08 120.08 120.08
114.92 114.92 114.92 114.92 114.92 119.92 119.92 119.92
95 95 95 95 95 100 100 100
98 98 98 98 98 103 103 103
24 27 31.5 31.5 36 36 40 45
20 20 20 20 20 25 25 25
5 5 5 5 5 5 5 5
30 30 30 30 30 30 30 30
3.5 3.5 3.5 3.5 3.5 3.5 3.5 3.5
35° 31° 24° 18° 13° 28° 25° 20°
0.08 0.08 0.10 0.10 0.10 0.10 0.10 0.10
A411、A412 A411、A412 A411、A412 Z41-16、ZM416 Z41-16、ZM416 Z41-20、Z41-20G Z41-20、Z41-20G Z41-20、Z41-20G
①,适用于螺母自动冷镦机用六角螺母冷镦模。
②,材料由制造者选定。推荐采用GCr15或T10A,硬度为58~62HRC。。
技术要求应符合JB/T 4213的规定。
替代列表
注:技术数据仅供参考,请以官方原件为准!
标准编号: JB /T 4210.4 - 2014
中文名称: 六角螺母冷镦模 镦球冲头 A型 (适用于GB6170、GB6171、GB6175、GB6176)
英文名称: Cold heading dies for hexagon nuts - Punches for ball upsetting, Type A (Suitable for GB6170、GB6171、GB6175、GB6176)
数据来源: 易紧通 (164580.com)
Standard Code: JB /T 4210.4 - 2014Chinese Name: 六角螺母冷镦模 镦球冲头 A型 (适用于GB6170、GB6171、GB6175、GB6176)English Name: Cold heading dies for hexagon nuts - Punches for ball upsetting, Type A (Suitable for GB6170、GB6171、GB6175、GB6176)Source: https://www.164580.com/info_361845.html
Data Source: YJT Fastener Database (164580.com)
Standard: JB /T 4210.4 - 2014
URL: https://www.164580.com/info_361845.html
License: Commercial use requires authorization
© 易紧通 服务热线:4006-164580(免长途费)