index
logo

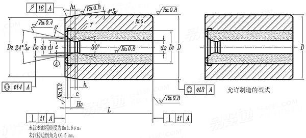
六角头螺栓冷镦模-全螺纹缩径凹模 B1型 (适用于GB5781、GB5783) JB /T 4209.4 - 2014

选择规格尺寸 点击↓

M8

M10

M12

M14

M16

(M18)

M20

括号内尺寸为非优选

尺寸单位: 毫米(mm)
机械行业JB /T4209.4 - 2014 JB4209.4 4209.4JB 六角头螺栓冷镦模-全螺纹缩径凹模 B1型 (适用于GB5781、GB5783)
JB /T 4209.4 - 2014 六角头螺栓冷镦模-全螺纹缩径凹模 B1型 (适用于GB5781、GB5783)
扫一扫分享
螺纹规格
M8 M10 M12 M14 M16 (M18) M20
d 最小值=公称
最大值
d1 最小值=公称
最大值
d3 最小值=公称
最大值
H 最小值=公称
最大值
D0 最小值=公称
最大值
H1 最小值=公称
最大值
D 公称
最大值
最小值
D2 公称
最大值
最小值
L 最大值=公称
最小值
d2 比d实际尺寸增加值
D1
h
h1
r
t1
t3
t4
t6
7.07 8.89 10.71 12.53 14.53 16.19 18.19
7.092 8.912 10.737 12.557 14.557 16.217 18.223
8 10 12 14 16 18 20
8.09 10.09 12.11 14.11 16.11 18.11 20.13
11.7 14.7 16.7 19.7 22.6 25.4 28.3
11.81 14.81 16.81 19.83 22.73 25.53 28.43
0.35 0.35 0.35 0.35 0.5 0.5 0.5
0.45 0.45 0.45 0.45 0.6 0.6 0.6
14.6 18 20.3 23.6 27 30.4 33.8
14.71 18.11 20.43 23.73 27.13 30.56 33.96
2.1 2.6 3 3.5 4 4.6 5
2.2 2.7 3.1 3.62 4.12 4.72 5.12
38 48 48 62 62 78 78
38.085 48.095 48.095 62.117 62.117 78.132 78.132
38.06 48.07 48.07 62.087 62.087 78.102 78.102
36.6 46 46 59.5 59.5 75 75
36.705 46.122 46.122 59.652 59.652 75.176 75.176
36.68 46.097 46.097 59.622 59.622 75.146 75.146
42 52 52 66 66 80 80
41.9 51.88 51.88 65.88 65.88 79.88 79.88
0.03~0.05 0.03~0.05 0.03~0.05 0.04~0.06 0.04~0.06 0.05~0.07 0.05~0.07
22 30 30 40 40 45 45
0.8 1 1.2 1.4 1.6 1.8 2
2.19 2.61 3.03 3.46 3.46 4.26 4.26
0.4 0.4 0.6 0.6 0.6 0.8 0.8
0.04 0.05 0.05 0.05 0.05 0.06 0.06
0.06 0.06 0.06 0.08 0.08 0.08 0.08
0.04 0.04 0.05 0.05 0.05 0.06 0.06
0.06 0.06 0.06 0.08 0.08 0.08 0.08
①,材料由制造者选定。模芯推荐采用YG 20C、YG25C。模套推荐采用60Si2Mn,硬度为44~48HRC。
技术要求应符合JB/T 4213-2014的规定。
替代列表
注:技术数据仅供参考,请以官方原件为准!
标准编号: JB /T 4209.4 - 2014
中文名称: 六角头螺栓冷镦模-全螺纹缩径凹模 B1型 (适用于GB5781、GB5783)
英文名称: Cold heading dies for hexagon bolts - Reducing dies full threads, Type B1, (Suitable for GB5781、GB5783)
数据来源: 易紧通 (164580.com)
Standard Code: JB /T 4209.4 - 2014Chinese Name: 六角头螺栓冷镦模-全螺纹缩径凹模 B1型 (适用于GB5781、GB5783)English Name: Cold heading dies for hexagon bolts - Reducing dies full threads, Type B1, (Suitable for GB5781、GB5783)Source: https://www.164580.com/info_359924.html
Data Source: YJT Fastener Database (164580.com)
Standard: JB /T 4209.4 - 2014
URL: https://www.164580.com/info_359924.html
License: Commercial use requires authorization
© 易紧通 服务热线:4006-164580(免长途费)