Unit:
|
Connections for Hydraulic Fluid Power and General use - Hose Fittings - Part 2: Hose Fittings with ISO 8434-1 24° Cone Connector Ends with O-rings
Connections for hydraulic fluid power and general use - Hose fittings - Part 1: Hose fittings with ISO 8434-3 O-ring face seal ends
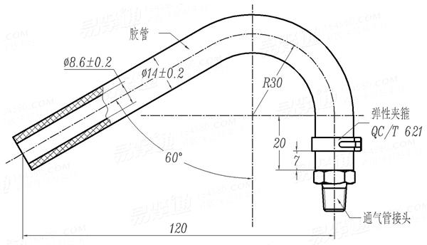
Ventilating Hose
Diesel Engines - Requirements for Low Pressure Hydraulic Pipe Assemblies - Type E
